授权公布号:CN215905199U
一种便于施工搬运的非金属通信管材组件
有效
申请
2021-03-22
申请公布
1970-01-01
授权
2022-02-25
预估到期
2031-03-22
| 申请号 | CN202120573082.4 |
| 申请日 | 2021-03-22 |
| 授权公布号 | CN215905199U |
| 授权公告日 | 2022-02-25 |
| 分类号 | B65G7/12 |
| 分类 | 输送;包装;贮存;搬运薄的或细丝状材料; |
| 申请人名称 | 义博通信设备集团股份有限公司 |
| 申请人地址 | 河北省沧州市河间市新区 |
专利法律状态
2022-02-25
授权
状态信息
授权
摘要
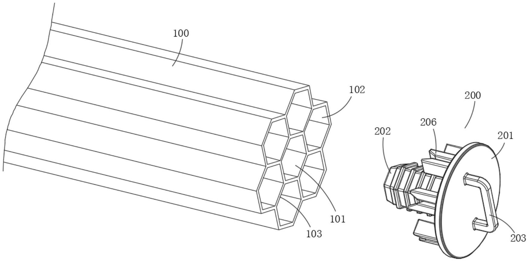
本实用新型公开的一种便于施工搬运的非金属通信管材组件,包括梅花管本体以及配合梅花管本体两端设置的搬运组件,所述梅花管本体由中心六边形子孔以及环绕中心六边形子孔的6个外六边形子孔组成,所述搬运组件包括端板,端板上配合中心六边形子孔设置有六边形插柱,六边形插柱插入至所述中心六边形子孔内,端板上环绕六边形插柱设置有与6处与外六边形子孔的共用边相配合的卡合结构,端板上还设置有把手。本实用新型针对六边形梅花管进行设计,独特的搬运组件结构使其能够方便的实现搬运动作,且搬运组件能够重复使用,成本低,实用性强。


