授权公布号:CN218733902U
一种带有封堵结构的MPP电缆保护管
有效
申请
2022-10-26
申请公布
1970-01-01
授权
2023-03-24
预估到期
2032-10-26
| 申请号 | CN202222844531.1 |
| 申请日 | 2022-10-26 |
| 授权公布号 | CN218733902U |
| 授权公告日 | 2023-03-24 |
| 分类号 | H02M3/04 |
| 分类 | 发电、变电或配电; |
| 申请人名称 | 义博通信设备集团股份有限公司 |
| 申请人地址 | 河北省沧州市河间市新区 |
专利法律状态
2024-02-13
专利权质押登记、变更及注销
状态信息
专利权质押登记;IPC(主分类):H02M3/04;登记号:Y2024980002774;登记日:20240124;出质人:义博通信设备集团股份有限公司;质权人:中国银行股份有限公司沧州分行;实用新型名称:一种带有封堵结构的MPP电缆保护管;申请日:20221026;授权公告日:20230324
2023-03-24
授权
状态信息
授权
摘要
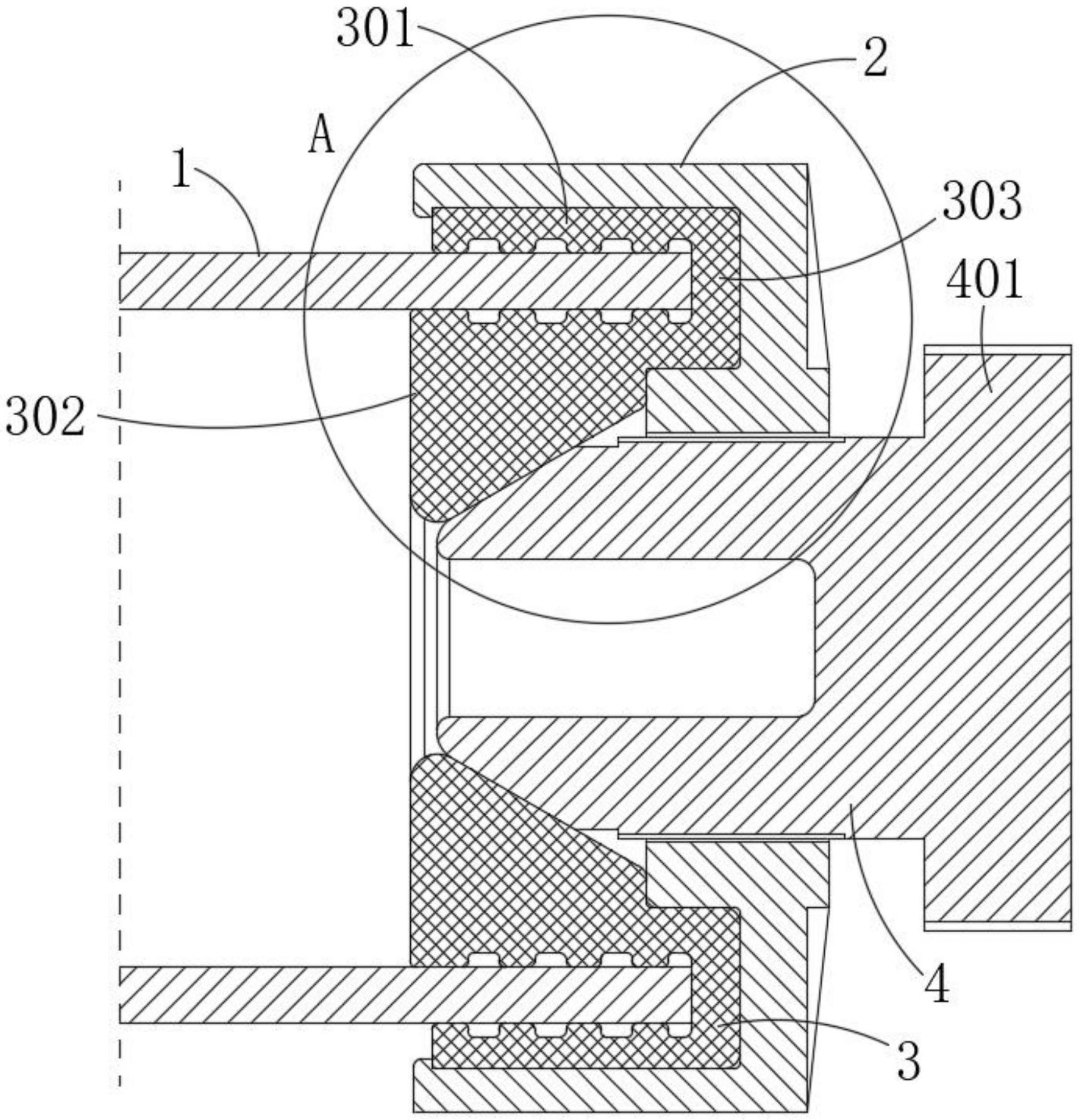
本实用新型公开的一种带有封堵结构的MPP电缆保护管,包括保护管本体,保护管本体的端部扣合设置有封堵座,封堵座与保护管本体之间设置有密封套,密封套包括设置于封堵座与保护管本体的外壁之间的外环形密封部以及与保护管本体的内壁贴合设置的内环形密封部,封堵座上螺接有用于将内环形密封部向外侧进行挤压以使得内环形密封部与保护管本体紧密贴合的抵紧杆。本实用新型中的封堵结构基于抵紧杆的挤压效果,可以使得密封套与保护管本体之间以及密封套与抵紧杆之间形成可靠的密封效果,能够有效的避免雨水、灰尘等杂质侵入到电缆保护管中。


