授权公布号:CN107150215B
一种蓄电池大盖组装机械手取放料位置准确定位装置及其使用方法
有效
申请
2017-07-10
申请公布
2017-09-12
授权
2023-06-13
预估到期
2037-07-10
| 申请号 | CN201710555645.5 |
| 申请日 | 2017-07-10 |
| 申请公布号 | CN107150215A |
| 申请公布日 | 2017-09-12 |
| 授权公布号 | CN107150215B |
| 授权公告日 | 2023-06-13 |
| 分类号 | B23P19/00;B25J19/00 |
| 分类 | 机床;不包含在其他类目中的金属加工; |
| 申请人名称 | 扬州阿波罗蓄电池有限公司 |
| 申请人地址 | 江苏省扬州市扬子江南路18号 |
专利法律状态
2023-06-13
授权
状态信息
授权
2017-10-10
实质审查的生效
状态信息
实质审查的生效;IPC(主分类):B23P19/00;申请日:20170710
2017-09-12
公布
状态信息
公布
摘要
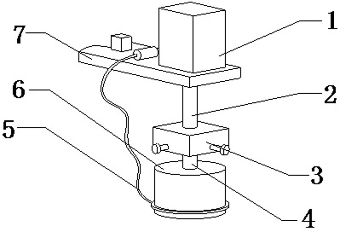
本发明提供一种蓄电池大盖组装机械手取放料位置准确定位装置,包括方形盒、微调螺纹杆一、微调螺纹杆二、铁块、磁铁、收集盒、软管、圆环管以及抽气机,微调螺纹杆二装配在方形盒右端面,该设计实现了本发明无需松动任何螺丝便可进行调整的目的,所述抽气机安装在安装板上端面,所述收集盒设置在抽气机左侧,所述圆环管装配在镶件抓取治具环形侧面下部位置,所述软管下端连接圆环管,所述软管上端连接抽气机,该设计增加了本发明的吸灰功能,本发明调整快捷方便,功能多样,稳定性好,可靠性高,同时本发明提供一种蓄电池大盖组装机械手取放料位置准确定位装置的使用方法。


