授权公布号:CN218866054U
一种锂电池快速检测装置
有效
申请
2022-12-16
申请公布
1970-01-01
授权
2023-04-14
预估到期
2032-12-16
| 申请号 | CN202223390950.9 |
| 申请日 | 2022-12-16 |
| 授权公布号 | CN218866054U |
| 授权公告日 | 2023-04-14 |
| 分类号 | G01R31/36;G01R31/378;G01R1/02;G01R1/04 |
| 分类 | 测量;测试; |
| 申请人名称 | 杭州天丰电源股份有限公司 |
| 申请人地址 | 浙江省杭州市拱墅区临半路118号 |
专利法律状态
2023-04-14
授权
状态信息
授权
摘要
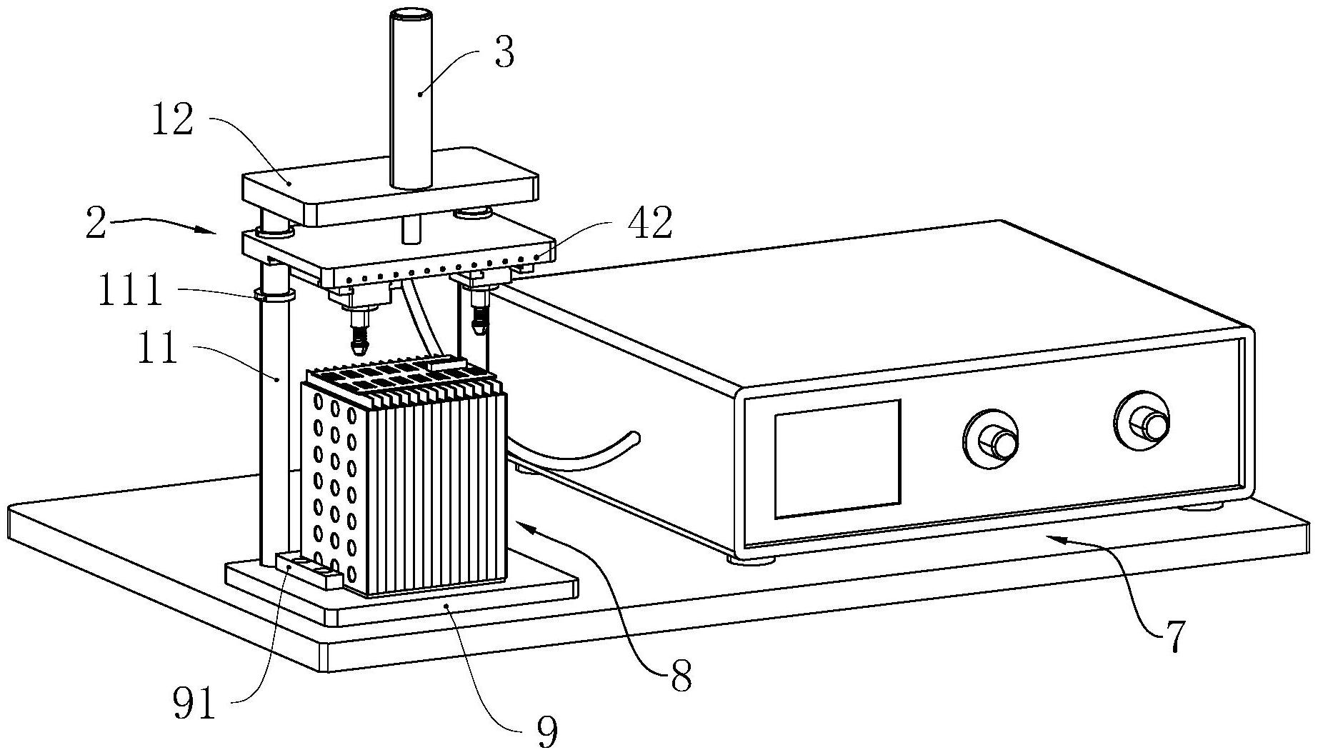
本实用新型为一种锂电池快速检测装置,属于锂电池测试装置领域,针对现有测试装置测试效率低、不适于批量测试的问题,采用技术方案如下:支撑架;检测机构,包括设置在支撑架上的升降驱动装置和被升降驱动装置驱动升降的升降台,升降台设有沿第一水平方向布置的滑槽,滑槽内设置两个滑块组件,每个滑块组件的下端连有测试组件,滑块组件能带动测试组件沿第二水平方向移动;待测工位,位于检测机构正下方;控制机构,用于控制升降驱动装置启闭以及接收测试组件的测试数据。两个滑块组件带动两个测试组件在水平面内沿第一水平方向和第二水平方向移动,能够较好地适应各种尺寸待测锂电池,适用范围广,测试方便、快捷、效率高,适于批量测试。


