授权公布号:CN107893258B
一种节能型多晶铸锭炉
有效
申请
2017-12-05
申请公布
2018-04-10
授权
2023-09-15
预估到期
2037-12-05
| 申请号 | CN201711266674.6 |
| 申请日 | 2017-12-05 |
| 申请公布号 | CN107893258A |
| 申请公布日 | 2018-04-10 |
| 授权公布号 | CN107893258B |
| 授权公告日 | 2023-09-15 |
| 分类号 | C30B28/06;C30B29/06 |
| 分类 | 晶体生长〔3〕; |
| 申请人名称 | 浙江芯能光伏科技股份有限公司 |
| 申请人地址 | 浙江省嘉兴市海宁市皮都路9号 |
专利法律状态
2023-09-15
授权
状态信息
授权
2018-05-04
实质审查的生效
状态信息
实质审查的生效;IPC(主分类):C30B28/06;申请日:20171205
2018-04-10
公布
状态信息
公布
摘要
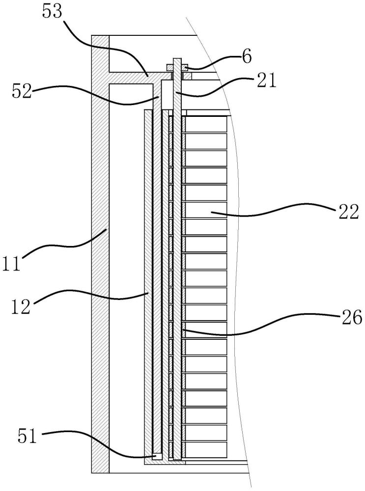
本发明提供了一种节能型多晶铸锭炉,包括外炉体、内炉体、陶瓷石英坩埚和加热体,外炉体与一个驱动外炉体上下晕的升降装置相连,加热体包裹在陶瓷石英坩埚的外壁上,内炉体套设在加热体的外表面,且内炉体与加热体之间具有间隙,内炉体上设置有对加热体外表面进行散热或保温的温控装置,温控制装置包括均匀设置在内炉体内的控制杆,每根控制杆上均纵向连接有若干反射板,反射板的两板面均涂有热反射涂层,控制杆纵向插设在内炉体上,控制杆上移能够由下至上逐个改变反射板的反射角度,控制杆与外炉体固定相连。本发明具有能够使外炉体运动与长晶的温度控制同步等优点。


