授权公布号:CN217594697U
一种蓄电池极板生产废料回收装置
有效
申请
2022-04-20
申请公布
1970-01-01
授权
2022-10-18
预估到期
2032-04-20
| 申请号 | CN202220914492.5 |
| 申请日 | 2022-04-20 |
| 授权公布号 | CN217594697U |
| 授权公告日 | 2022-10-18 |
| 分类号 | B02C4/08;B02C4/30;B02C21/00;B02C23/10;B09B3/35;H01M10/54;B09B101/16N |
| 分类 | 破碎、磨粉或粉碎;谷物碾磨的预处理; |
| 申请人名称 | 江西圣嘉乐电源科技有限公司 |
| 申请人地址 | 江西省宜春市宜丰县工业园 |
专利法律状态
2022-10-18
授权
状态信息
授权
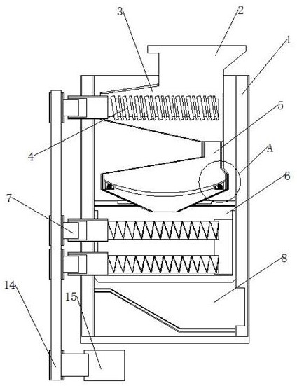
摘要
本实用新型提供了一种蓄电池极板生产废料回收装置,包括主体和入料口,入料口固定开设在主体的顶端,主体的内部固定开设有第一处理腔和第二处理腔,第一处理腔的内部嵌入设置有粉碎结构,粉碎结构包括有安装架、齿盘、连接头、粉碎辊和粉碎齿,齿盘、连接头、安装架同时对两组粉碎结构进行包围设置。在粉碎辊进行转动的时候,通过粉碎齿达到对电极板进行切割粉碎的效果,通过震动头达到辅助对粉碎之后的电极板进行过滤筛选的效果,粉碎完毕的电极板进入滤腔中,通过滤腔以及内部的弧形滤板达到对粉碎之后的电机板进行过滤筛选的效果,通过齿盘以及皮带达到同时带动粉碎而机构以及碾压辊进行转动的效果。


