授权公布号:CN217492282U
一种石墨烯+高银电池过桥极柱折弯装置
有效
申请
2022-05-05
申请公布
1970-01-01
授权
2022-09-27
预估到期
2032-05-05
| 申请号 | CN202221046899.7 |
| 申请日 | 2022-05-05 |
| 授权公布号 | CN217492282U |
| 授权公告日 | 2022-09-27 |
| 分类号 | B21D11/22;B21D11/00;H01M10/04 |
| 分类 | 基本上无切削的金属机械加工;金属冲压; |
| 申请人名称 | 江西圣嘉乐电源科技有限公司 |
| 申请人地址 | 江西省宜春市宜丰县工业园 |
专利法律状态
2022-09-27
授权
状态信息
授权
摘要
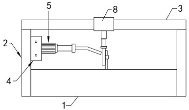
本实用新型涉及蓄电池制造技术领域,提供了一种石墨烯+高银电池过桥极柱折弯装置,包括工作台、支撑座、横梁、固定架、液压机、第一连接套、连杆、活动块和电动伸缩杆,位于工作台的侧面竖直安装有支撑座,位于支撑座的上端处横向安装有横梁,并且支撑座的左侧侧面安装有固定架,固定架的内侧横向安装有液压机,位于液压机液压杆的另一端第一连接套,本实用新型极柱向下进行折弯时,活动板能够提升与极柱的接触面积,避免了单一的受力点,使得极柱在折弯时能够整体受力,避免极柱在折弯时应力较大导致断裂,能够降低极柱的损坏率,通过限位块使得极柱折弯处于接近垂直状态,并且通过限位块进行限制极柱折弯时不会过压,有效保障极柱折弯的品质。


