授权公布号:CN207254004U
一种翡翠抛光旋风式和布袋式并联除尘器
有效
申请
2017-07-28
申请公布
1970-01-01
授权
2018-04-20
预估到期
2027-07-28
| 申请号 | CN201720925786.7 |
| 申请日 | 2017-07-28 |
| 授权公布号 | CN207254004U |
| 授权公告日 | 2018-04-20 |
| 分类号 | B01D50/00 |
| 分类 | 一般的物理或化学的方法或装置; |
| 申请人名称 | 惠州市南宝玉宝文化产业发展股份有限公司 |
| 申请人地址 | 广东省惠州市惠阳区淡水土湖白云坑兴发路南宝大厦3层01号商铺 |
专利法律状态
2023-12-12
专利权质押合同登记的生效、变更及注销
状态信息
专利权质押合同登记的生效;IPC(主分类):B01D 50/00;专利号:ZL2017209257867;登记号:Y2023980067265;登记生效日:20231123;出质人:惠州市南宝玉宝文化产业发展股份有限公司;质权人:惠州农村商业银行股份有限公司惠阳支行;实用新型名称:一种翡翠抛光旋风式和布袋式并联除尘器;申请日:20170728;授权公告日:20180420
2018-04-20
授权
状态信息
授权
摘要
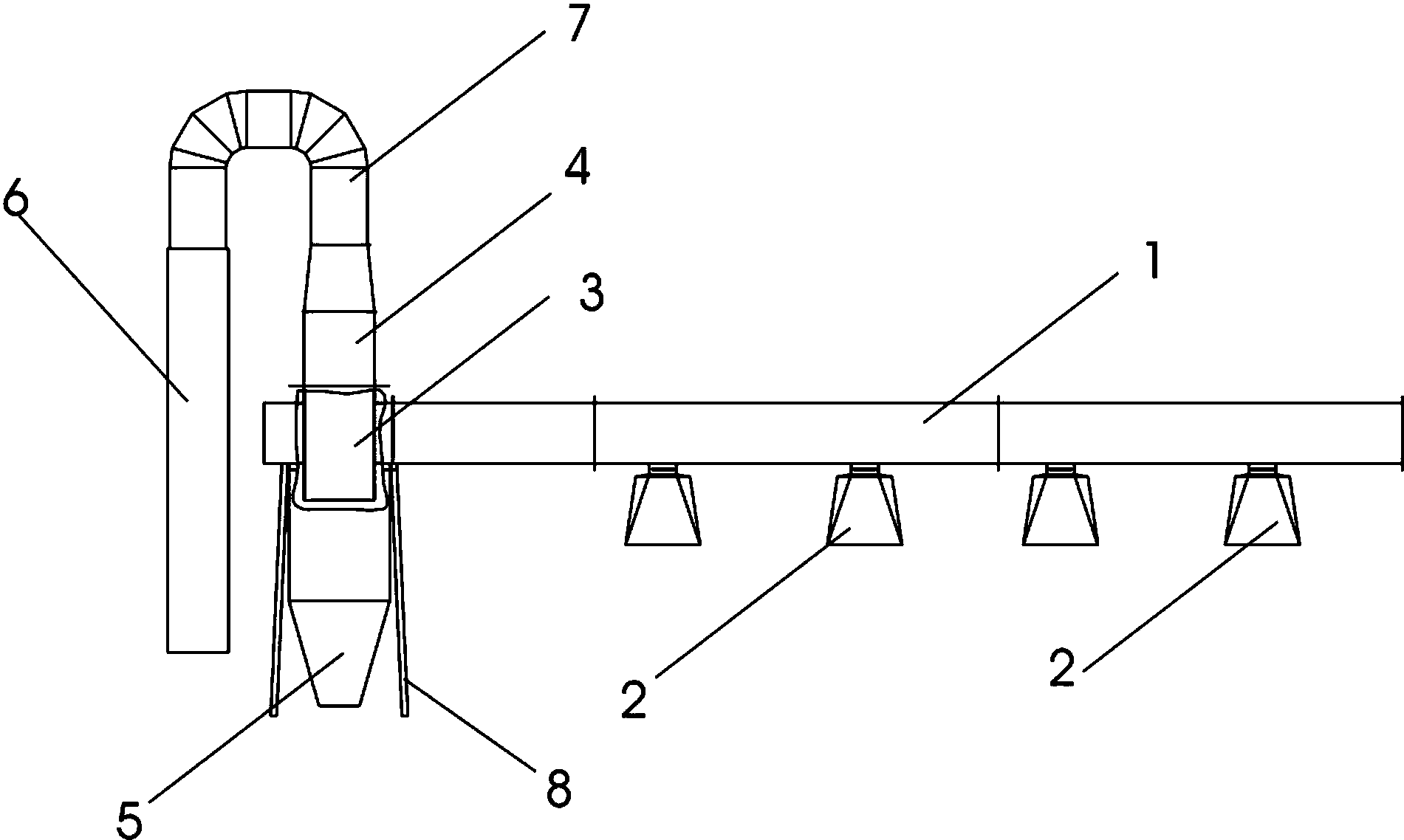
一种翡翠抛光旋风式和布袋式并联除尘器,包括排风管和支架;所述抽风管底部通过螺钉安装有四处有序排列的抽风罩,且抽风管左端内部中心固定安装有旋风式除尘器;所述旋风式除尘器顶部通过螺钉安装有管道风机,且管道风机顶部通过螺钉安装有排风管;所述排风管左侧末端通过绑绳安装有布袋式除尘器,且支架对抽风管左端底部进行固定支撑;所述抽风管左端底部通过螺钉安装有粉尘收集斗,且抽风管右侧部分通过固定方环安装在墙体表面。本实用新型旋风式除尘器和布袋式除尘器的设置,有利于通过旋风式和布袋式二级的粉尘处理,使除尘效率高达99%以上,10μm以上的粉尘由旋风除尘器处理并收集,10μm以下的粉尘由布袋式除尘器处理并收集。


