授权公布号:CN207452259U
珐琅施釉装置
有效
申请
2017-11-14
申请公布
1970-01-01
授权
2018-06-05
预估到期
2027-11-14
| 申请号 | CN201721508587.2 |
| 申请日 | 2017-11-14 |
| 授权公布号 | CN207452259U |
| 授权公告日 | 2018-06-05 |
| 分类号 | C23D5/06 |
| 分类 | 对金属材料的镀覆;用金属材料对材料的镀覆;表面化学处理;金属材料的扩散处理;真空蒸发法、溅射法、离子注入法或化学气相沉积法的一般镀覆;金属材料腐蚀或积垢的一般抑制〔2〕; |
| 申请人名称 | 深圳百年宝诚珠宝有限公司 |
| 申请人地址 | 广东省广州市番禺区沙湾街福龙路999号26栋101之一 |
专利法律状态
2023-09-22
专利申请权、专利权的转移
状态信息
专利权的转移;IPC(主分类):C23D5/06;专利号:ZL2017215085872;登记生效日:20230908;变更事项:专利权人;变更前权利人:深圳百年宝诚珠宝有限公司;变更后权利人:广州宝诚山立品牌营销有限公司;变更事项:地址;变更前权利人:518000 广东省深圳市罗湖区翠竹街道贝丽北路20号金展珠宝广场3F-041;变更后权利人:511400 广东省广州市番禺区沙湾街福龙路999号26栋101之一
2018-06-05
授权
状态信息
授权
摘要
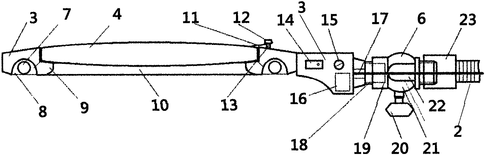
本实用新型公开了一种珐琅施釉装置,其包括底座等,多个金属软管一端和底座相连,弹簧夹和一个金属软管的另一端之间通过一个万向接头相连,镜框内设有放大镜拖台,放大镜固定在放大镜拖台上,灯槽位于镜框的环形外框中央,灯槽内设有LED灯管,观察窗位于放大镜下面,电源开关和亮度调节旋钮都位于镜框上。本实用新型可以方便地固定工件,可灵活顺畅地翻转到任何角度,解放操作者的双手以便专注于施釉操。


