授权公布号:CN207689012U
透明珐琅色板及其板胚制作装置
有效
申请
2017-11-14
申请公布
1970-01-01
授权
2018-08-03
预估到期
2027-11-14
| 申请号 | CN201721508586.8 |
| 申请日 | 2017-11-14 |
| 授权公布号 | CN207689012U |
| 授权公告日 | 2018-08-03 |
| 分类号 | G01J3/46;B21D37/10 |
| 分类 | 测量;测试; |
| 申请人名称 | 深圳百年宝诚珠宝有限公司 |
| 申请人地址 | 广东省广州市番禺区沙湾街福龙路999号26栋101之一 |
专利法律状态
2023-09-22
专利申请权、专利权的转移
状态信息
专利权的转移;IPC(主分类):G01J3/46;专利号:ZL2017215085868;登记生效日:20230908;变更事项:专利权人;变更前权利人:深圳百年宝诚珠宝有限公司;变更后权利人:广州宝诚山立品牌营销有限公司;变更事项:地址;变更前权利人:518000 广东省深圳市罗湖区翠竹街道贝丽北路20号金展珠宝广场3F-041;变更后权利人:511400 广东省广州市番禺区沙湾街福龙路999号26栋101之一
2018-08-03
授权
状态信息
授权
摘要
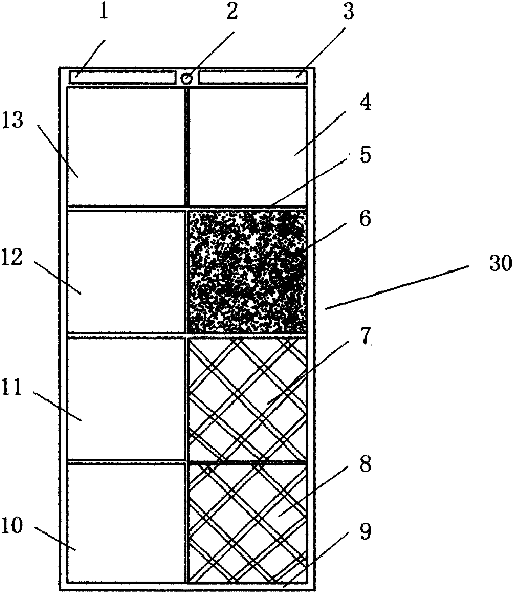
本实用新型公开了一种透明珐琅色板及其板胚制作装置,透明珐琅色板包括第一标注区等,第一标注区位于吊孔一侧,第二标注区位于吊孔另一侧,第五抛光区位于第一标注区下方,第一抛光区位于第二标注区下方,钉沙区位于第一抛光区下方,第四抛光区位于第五抛光区下方,凹纹区位于钉沙区下方,第三抛光区位于第四抛光区下方,凸纹区位于凹纹区下方,第二抛光区位于第三抛光区下方,分区阴线与边框相连,吊孔位于边框的顶端上,正面填釉槽位于填釉基底一侧,背面填釉槽位于填釉基底另一侧,凹纹区设有凹纹槽,凸纹区设有凸纹筋,凹纹槽和凸纹筋都与填釉基底相连。本实用新型能够有效地制作出不同胚底,便利珐琅首饰生产制造。


