授权公布号:CN213989129U
一种车用电源连接接口结构
有效
申请
2021-01-14
申请公布
1970-01-01
授权
2021-08-17
预估到期
2031-01-14
| 申请号 | CN202120118502.X |
| 申请日 | 2021-01-14 |
| 授权公布号 | CN213989129U |
| 授权公告日 | 2021-08-17 |
| 分类号 | H01M50/543;H01M50/566 |
| 分类 | 基本电气元件; |
| 申请人名称 | 淮南市通霸蓄电池有限公司 |
| 申请人地址 | 安徽省淮南市谢家集区(工业园区内) |
专利法律状态
2021-08-17
授权
状态信息
授权
摘要
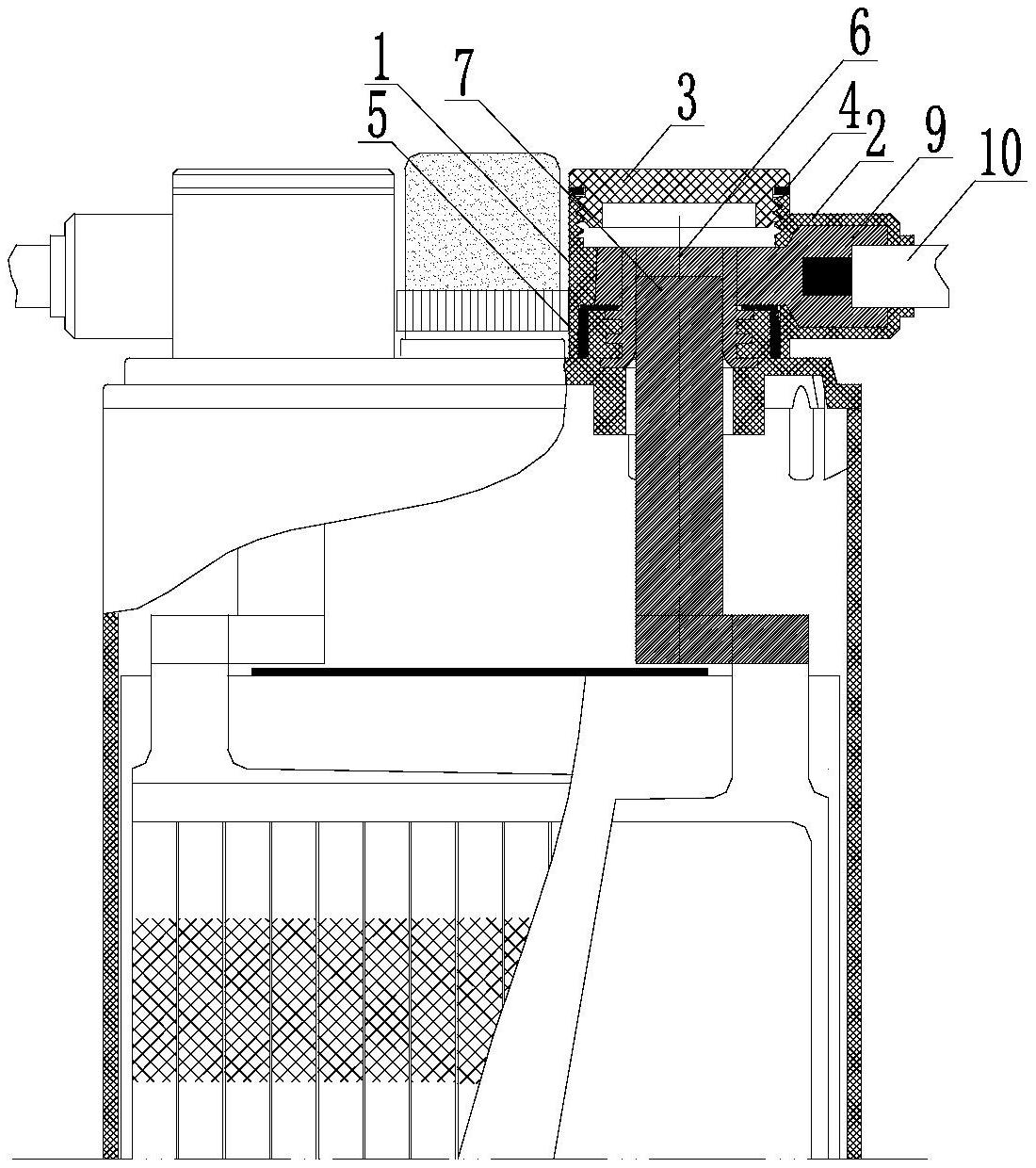
本实用新型涉及车用蓄电池连接接口技术领域,尤其是涉及一种车用电源连接接口结构,包括两个腔体相互贯通的第一连接头、第二连接头,第二连接头连接在第一连接接头的侧壁上,第一连接头的下部套接在铅极性柱凸台的外侧,第一连接头的中部内侧设有刚好可以套接在铅极性柱外侧的铅极性柱套,第一连接头的上部可拆卸安装有防尘盖,第二腔体内设有硬式连接线或软式连接线,本实用新型具有连接方式方便、连接安全性、可靠性高的优点,同时在使用过程中维护、检修也比较便利。


