授权公布号:CN220360178U
一种智能校服用校徽
有效
申请
2023-07-26
申请公布
1970-01-01
授权
2024-01-19
预估到期
2033-07-26
| 申请号 | CN202321976575.8 |
| 申请日 | 2023-07-26 |
| 授权公布号 | CN220360178U |
| 授权公告日 | 2024-01-19 |
| 分类号 | A44C3/00 |
| 分类 | 服饰缝纫用品;珠宝; |
| 申请人名称 | 洛阳铭辰工贸有限责任公司 |
| 申请人地址 | 河南省洛阳市洛龙区关林镇八里堂村新区大道南段 |
专利法律状态
2024-01-19
授权
状态信息
授权
摘要
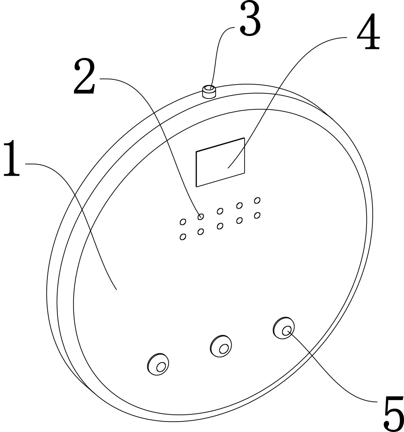
本申请公开了一种智能校服用校徽,包括防水壳体和充电座;所述防水壳体的内部设有心率传感器、定位模块、eSIM通信模块、处理器、存储器和电池,所述防水壳体的前侧面上端设有三色灯和发声器,所述防水壳体的前侧面下端设有紧急通信按钮、红外测温按钮和智能交互按键,本智能校服用校徽,通过设计一个可以和校服快速分离与组合的智能校徽,既可以实现校服的智能控制功能,又方便了校服的清洗,同时,校徽具备定位和额温测量功能,可以有效保障儿童的安全;按下紧急通信按钮后,单片机控制eSIM通信模块启动,并拨通紧急联系人电话,按下红外测温按钮,可以用于儿童体温检测,按下智能交互按键,可以用于智能交互。


