授权公布号:CN213986064U
一种牛津布耐磨性检测设备
有效
申请
2020-12-22
申请公布
1970-01-01
授权
2021-08-17
预估到期
2030-12-22
| 申请号 | CN202023104898.7 |
| 申请日 | 2020-12-22 |
| 授权公布号 | CN213986064U |
| 授权公告日 | 2021-08-17 |
| 分类号 | G01N3/56;G01N3/02;G01N3/04 |
| 分类 | 测量;测试; |
| 申请人名称 | 洛阳铭辰工贸有限责任公司 |
| 申请人地址 | 河南省洛阳市洛龙区关林镇八里堂村新区大道南段 |
专利法律状态
2021-08-17
授权
状态信息
授权
摘要
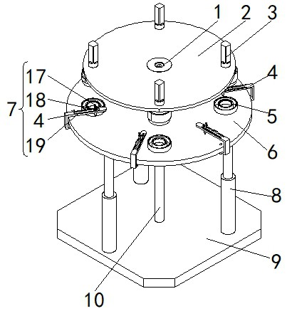
本实用新型公开了一种牛津布耐磨性检测设备,包括基座安装板、电机安装板和安装支座板,所述基座安装板、电机安装板和安装支座板通过支撑柱相串联,支撑柱的上端与设置在电机安装板中心的安装基座相连接,所述电机安装板圆周均布有打磨电机,所述打磨电机的输出端连接有摩擦装置,所述安装支座板上设置有布料放置盘,本牛津布耐磨性检测设备可以对同一布料进行打磨,可以进行对比,直观的观测出经不同摩擦力打磨后的布料状况,同时该装置对布料的固定方式,灵活多变,有效适用于不同规格的布料,提高适用范围。


