授权公布号:CN208533216U
一种转盘式方便自由切换刀片的断布机
有效
申请
2018-06-20
申请公布
1970-01-01
授权
2019-02-22
预估到期
2028-06-20
| 申请号 | CN201820946945.6 |
| 申请日 | 2018-06-20 |
| 授权公布号 | CN208533216U |
| 授权公告日 | 2019-02-22 |
| 分类号 | D06H7/00 |
| 分类 | 织物等的处理;洗涤;其他类不包括的柔性材料; |
| 申请人名称 | 洛阳铭辰工贸有限责任公司 |
| 申请人地址 | 河南省洛阳市洛龙区关林镇八里堂村新区大道南段 |
专利法律状态
2019-02-22
授权
状态信息
授权
摘要
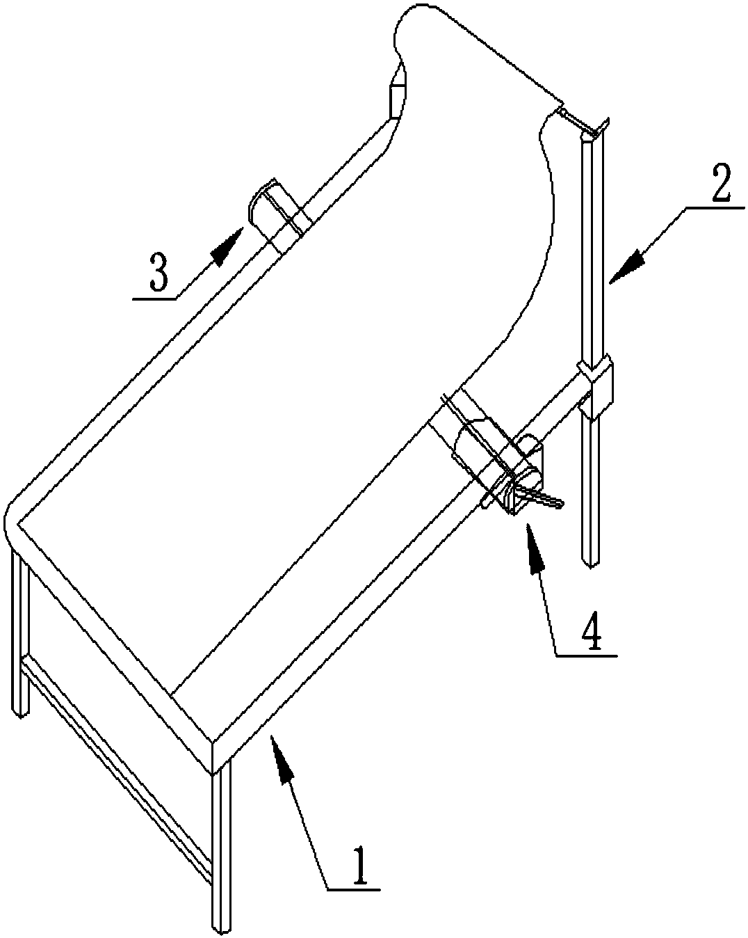
本实用新型公开了一种转盘式方便自由切换刀片的断布机,包括裁剪工作台、布匹支架、导轨、裁布装置,所述裁剪工作台固定连接布匹支架,裁剪工作台上端面横向放置导轨,所述导轨通过滑块滑动连接裁布装置,所述裁布装置包括转盘、电机安装台和握把,所述转盘通过铰链与电机安装台转动连接,同时通过转盘弹簧、卡块、连接板、插块和推板的组合结构与电机安装台卡接,转盘的应用把裁剪装置分为了两个部分,方便拆卸更换刀片,卡接组合结构的应用,使转盘与电机安装台固定,同时防止转盘在裁剪装置回程时反弹,整体设计提高了本实用新型的实用性。


