授权公布号:CN215474018U
精装图书丝带粘合装置
有效
申请
2021-03-25
申请公布
1970-01-01
授权
2022-01-11
预估到期
2031-03-25
| 申请号 | CN202120609047.3 |
| 申请日 | 2021-03-25 |
| 授权公布号 | CN215474018U |
| 授权公告日 | 2022-01-11 |
| 分类号 | B42C9/02 |
| 分类 | 装订;图册;文件夹;特种印刷品; |
| 申请人名称 | 北京华联印刷有限公司 |
| 申请人地址 | 北京市大兴区北京经济技术开发区东环北路3号 |
专利法律状态
2022-01-11
授权
状态信息
授权
摘要
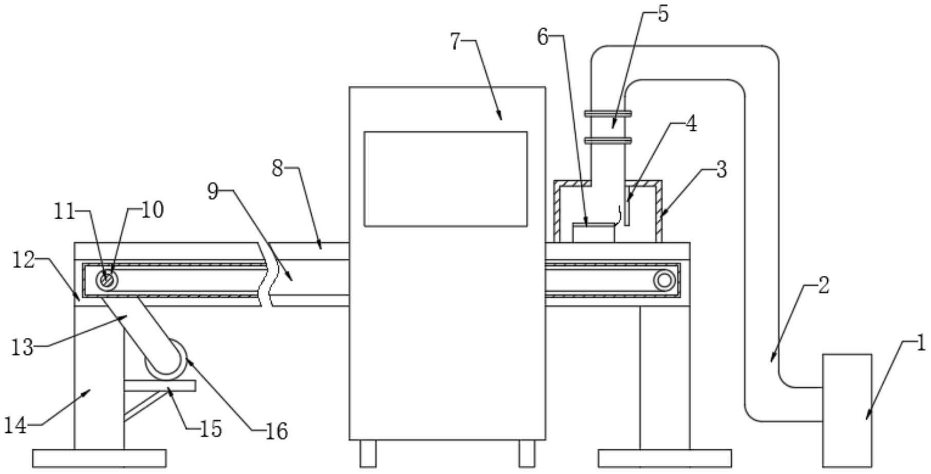
本实用新型提供精装图书丝带粘合装置,包括传送精装机体、覆涂机、玻璃罩壳以及风机,所述安装板上安装有驱动电机,多个所述传动轴上固定有传送带,所述传送精装机体右端安装有覆涂机,所述传送精装机体穿过覆涂机,所述传送精装机体最右端上表面安装有玻璃罩壳,所述玻璃罩壳内设置有橡胶挡板,所述玻璃罩壳上端表面设置有连接管道,所述玻璃罩壳上端表面设置的连接管道上连接有风量调节阀,所述风机与风量调节阀之间连接有连接风管;与现有技术相比,本实用新型具有如下的有益效果:能够有效提高精装书籍丝带粘合的产品质量;生产速度快、质量有保证;平稳、快速且操作简单;用设备替代人工后,减轻劳动强度,大大提高生产效率。


