授权公布号:CN215705083U
基于超声波原理的印刷双张检测系统
有效
申请
2020-09-23
申请公布
1970-01-01
授权
2022-02-01
预估到期
2030-09-23
| 申请号 | CN202022106007.5 |
| 申请日 | 2020-09-23 |
| 授权公布号 | CN215705083U |
| 授权公告日 | 2022-02-01 |
| 分类号 | B41F33/00;B41F17/00 |
| 分类 | 印刷;排版机;打字机;模印机〔4〕; |
| 申请人名称 | 北京华联印刷有限公司 |
| 申请人地址 | 北京市大兴区北京经济技术开发区东环北路3号 |
专利法律状态
2022-02-01
授权
状态信息
授权
摘要
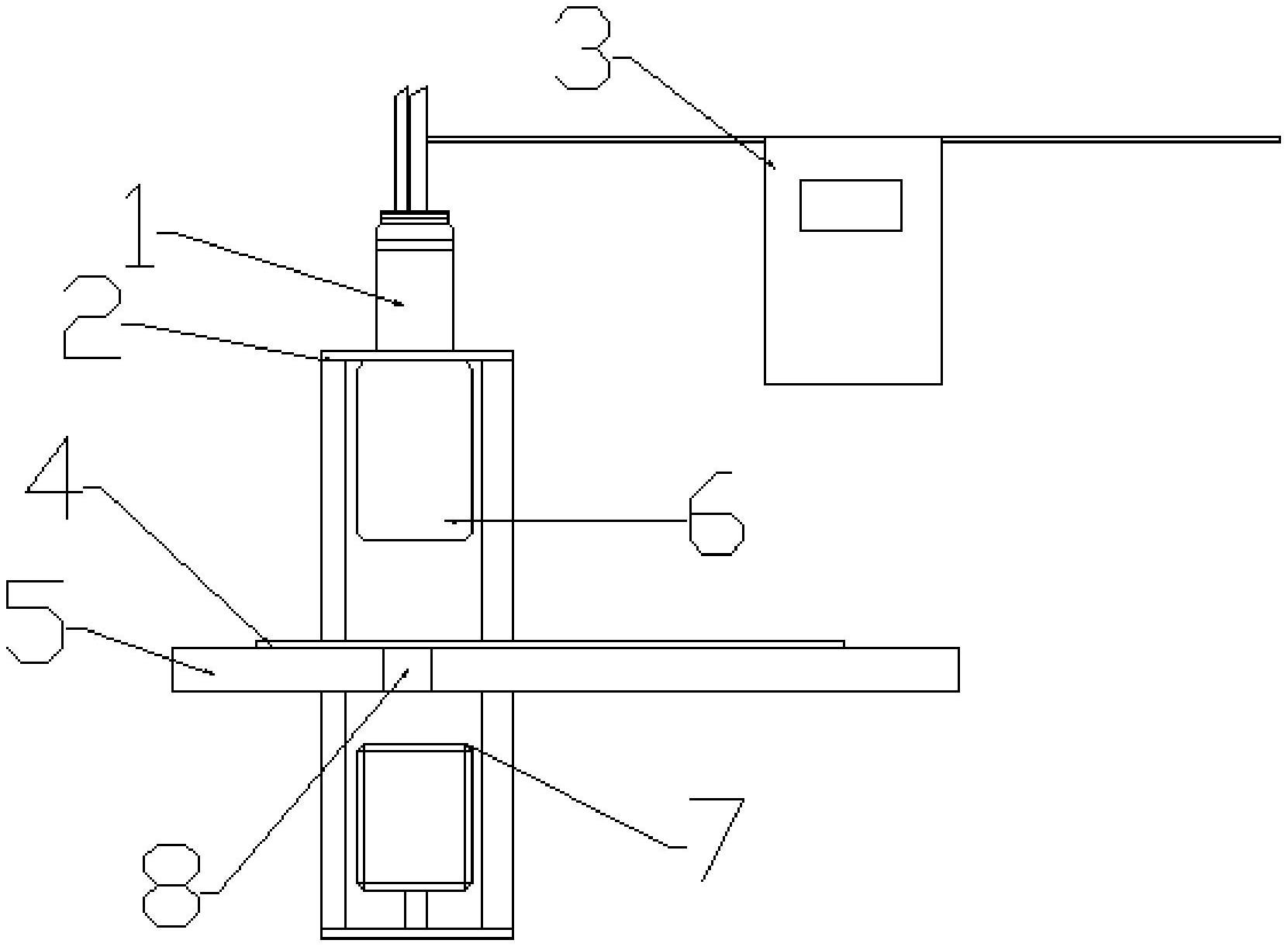
本实用新型提供基于超声波原理的印刷双张检测系统,包括超声波传感器、金属支架、继电器等,所述超声波传感器固定在金属支架上,所述金属支架分为上下两部分,与现有技术相比,本实用新型具有如下的有益效果:本实用新型的基于超声波原理的印刷双张检测系统,传感器设备自身拥有三个控制输入端,可根据被测材料进行外部灵敏度选择、触发和双张和缺张输出,用于检测区分双张、单张和缺张;检测设备的发射器和接收器之间工作距离从20‑70mm可选,安装灵活可以通过进行参数化,极大的灵活性;检测设备的无需进行开机调教,工人只需开机上电即可正常工作;工作时不受纸张颜色、克重、涂布层干扰。


