授权公布号:CN205193571U
一种在线称重质检智能数据管理装置
有效
申请
2015-12-03
申请公布
1970-01-01
授权
2016-04-27
预估到期
2025-12-03
| 申请号 | CN201520998245.8 |
| 申请日 | 2015-12-03 |
| 授权公布号 | CN205193571U |
| 授权公告日 | 2016-04-27 |
| 分类号 | G05B19/418 |
| 分类 | 控制;调节; |
| 申请人名称 | 北京华联印刷有限公司 |
| 申请人地址 | 北京市大兴区北京经济技术开发区东环北路3号 |
专利法律状态
2016-04-27
授权
状态信息
授权
摘要
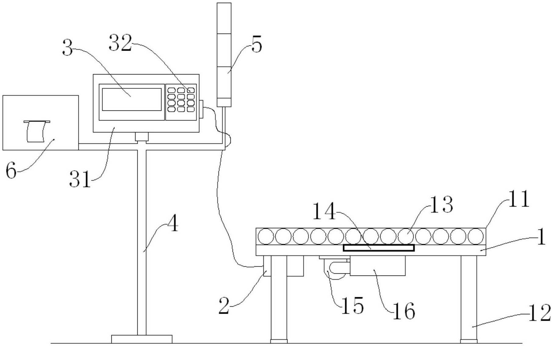
本实用新型涉及一种在线称重质检智能数据管理装置,包括传输装置,所述的传输装置与流水线拼接,所述的传输装置为滚轴式传输装置,所述的滚轴式传输装置包括机座、支腿、安装在机座内若干个滚轴、动力电机和信息处理器,所述的机座内设有称量装置,所述的信息处理器通过导线与位于传输装置外的信息输出装置连接,所述的信息输出装置上设有报警灯。本实用新型克服了现有技术的不足,实现在线质检产品包装多数少数、自动报错、数码打印易碎防伪标签、数字化包装报工等功能。


