授权公布号:CN214188903U
一种印刷品水性香味涂布设备
有效
申请
2020-09-23
申请公布
1970-01-01
授权
2021-09-14
预估到期
2030-09-23
| 申请号 | CN202022106045.0 |
| 申请日 | 2020-09-23 |
| 授权公布号 | CN214188903U |
| 授权公告日 | 2021-09-14 |
| 分类号 | B41F19/00;B05C1/08 |
| 分类 | 印刷;排版机;打字机;模印机〔4〕; |
| 申请人名称 | 北京华联印刷有限公司 |
| 申请人地址 | 北京市大兴区北京经济技术开发区东环北路3号 |
专利法律状态
2021-09-14
授权
状态信息
授权
摘要
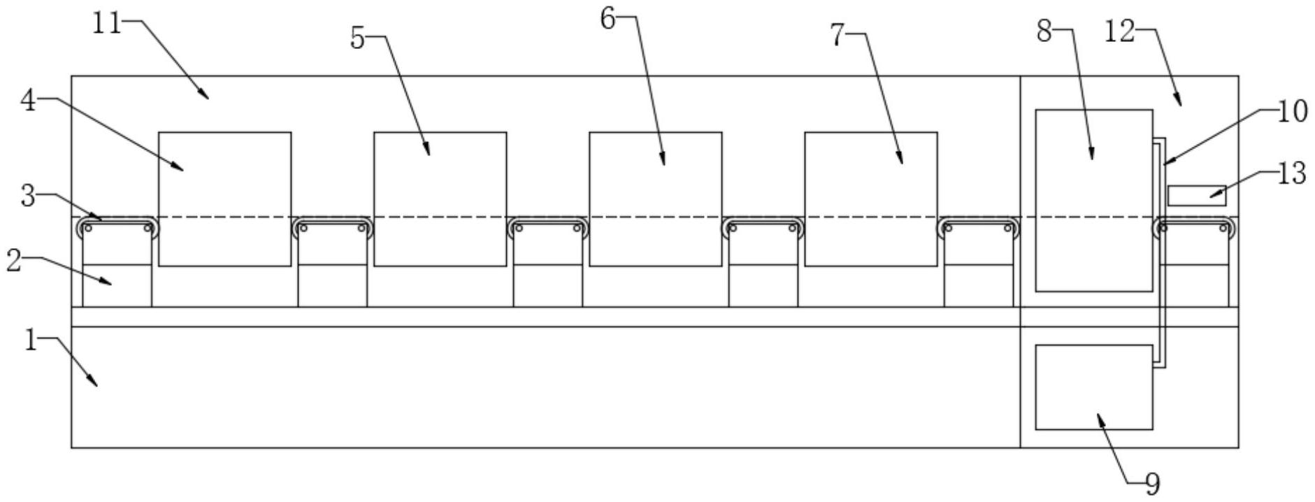
本实用新型提供一种印刷品水性香味涂布设备,包括底座、印刷间、以及涂香间,所述底座作为载体,所述底座上方设置有印刷间,所述印刷间右侧设置有涂香间,所述印刷间内设置有黑色油墨印刷组件、所述黑色油墨印刷组件右方设置有青色油墨印刷组件,所述青色油墨印刷组件右方设置有品红油墨印刷组件,与现有技术相比,本实用新型具有如下的有益效果:通过将增香工序设置在印刷后面进行,与直接在印刷单元油墨里面加入油性化学香精相比,更加的绿色环保,便于在印刷产品表面涂布均匀,产品散发的香味,不受印刷品墨位深浅的影响,持久有效,通过网纹辊涂布,解决了直接添加在印刷油墨里面的弊端。


