授权公布号:CN110934380B
一种祛湿抗菌健足平衡鞋垫的生产工艺
有效
申请
2019-11-12
申请公布
2020-03-31
授权
2021-09-03
预估到期
2039-11-12
| 申请号 | CN201911100154.7 |
| 申请日 | 2019-11-12 |
| 申请公布号 | CN110934380A |
| 申请公布日 | 2020-03-31 |
| 授权公布号 | CN110934380B |
| 授权公告日 | 2021-09-03 |
| 分类号 | A43B17/00;A43B17/08;A43B17/02;A43B17/10;A61K36/744;A61P29/00;A61H39/04;A61M37/00;B32B27/30;B32B27/06;B32B3/24;B32B33/00;A61K31/045 |
| 分类 | 鞋类; |
| 申请人名称 | 浙江老鞋匠鞋业有限公司 |
| 申请人地址 | 浙江省温州市永嘉县瓯北镇东瓯工业区 |
专利法律状态
2021-09-03
授权
状态信息
授权
2020-04-24
实质审查的生效
状态信息
实质审查的生效
2020-03-31
公布
状态信息
公布
摘要
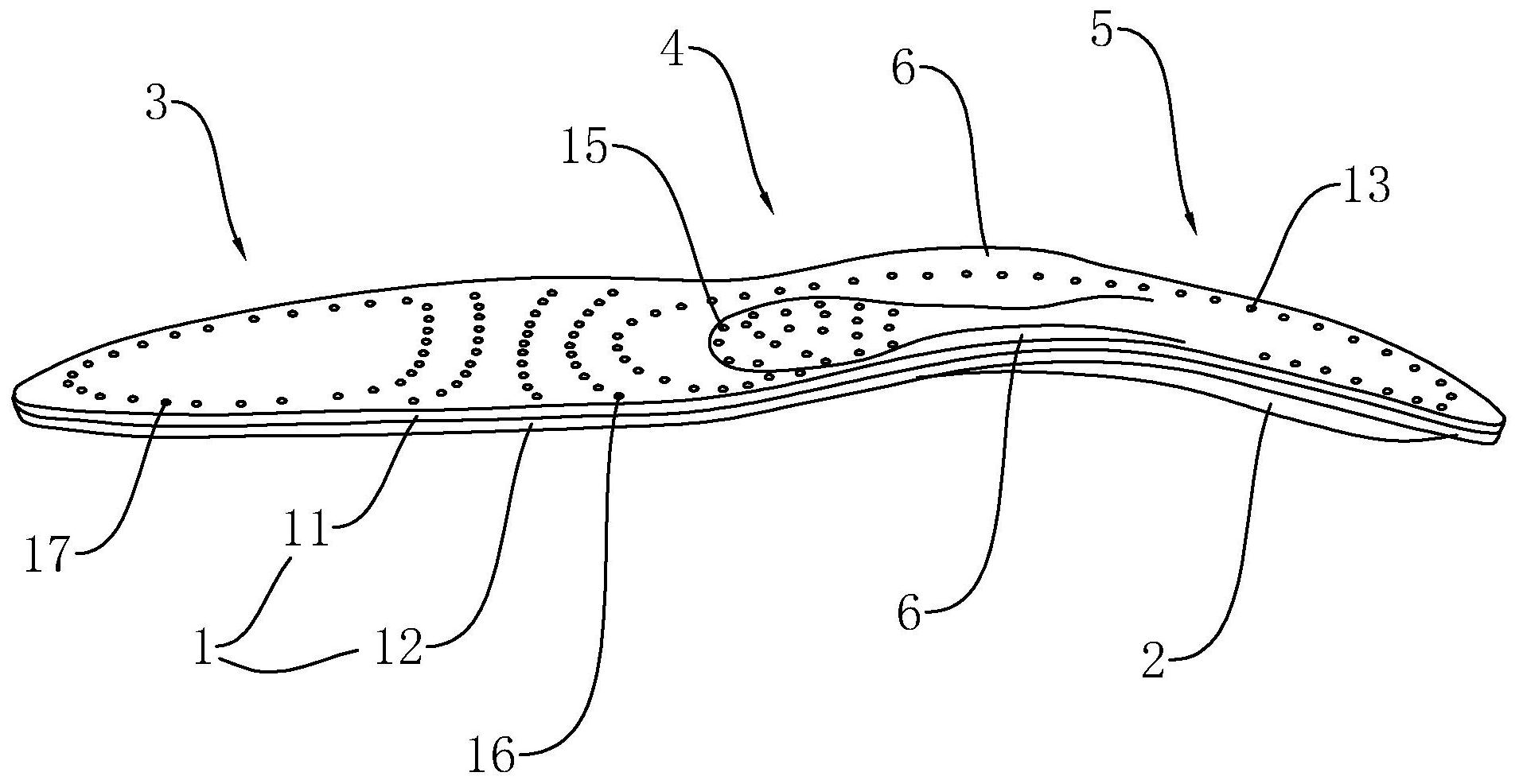
本发明公开了一种祛湿抗菌健足平衡鞋垫及其生产工艺,涉及鞋垫领域,平衡鞋垫包括鞋垫层,所述鞋垫层分为前掌区、足弓区和脚跟区,所述足弓区和脚跟区处设置有定型片,所述定型片呈弧形且中部拱起处相对两侧上翻;所述鞋垫层于前掌区处平整、受定型片作用而于足弓区和脚跟区处呈弧形,所述鞋垫层最高处位于足弓区和脚跟区的交界处且该处两侧拱起形成支撑部;所述鞋垫层包括外表皮层和海绵内层。本发明具有可平衡足底压力、透气散热、祛湿排寒、抗菌抑菌、调和气血等作用,健足效果好。


