授权公布号:CN210393117U
一种保鲜膜生产用卷膜装置
有效
申请
2019-08-07
申请公布
1970-01-01
授权
2020-04-24
预估到期
2029-08-07
| 申请号 | CN201921267934.6 |
| 申请日 | 2019-08-07 |
| 授权公布号 | CN210393117U |
| 授权公告日 | 2020-04-24 |
| 分类号 | B65H23/26;B65H23/04;B65H19/30 |
| 分类 | 输送;包装;贮存;搬运薄的或细丝状材料; |
| 申请人名称 | 福州永鑫塑料包装用品有限公司 |
| 申请人地址 | 福建省福州市平潭县工业园区松南村上游209号 |
专利法律状态
2020-04-24
授权
状态信息
授权
摘要
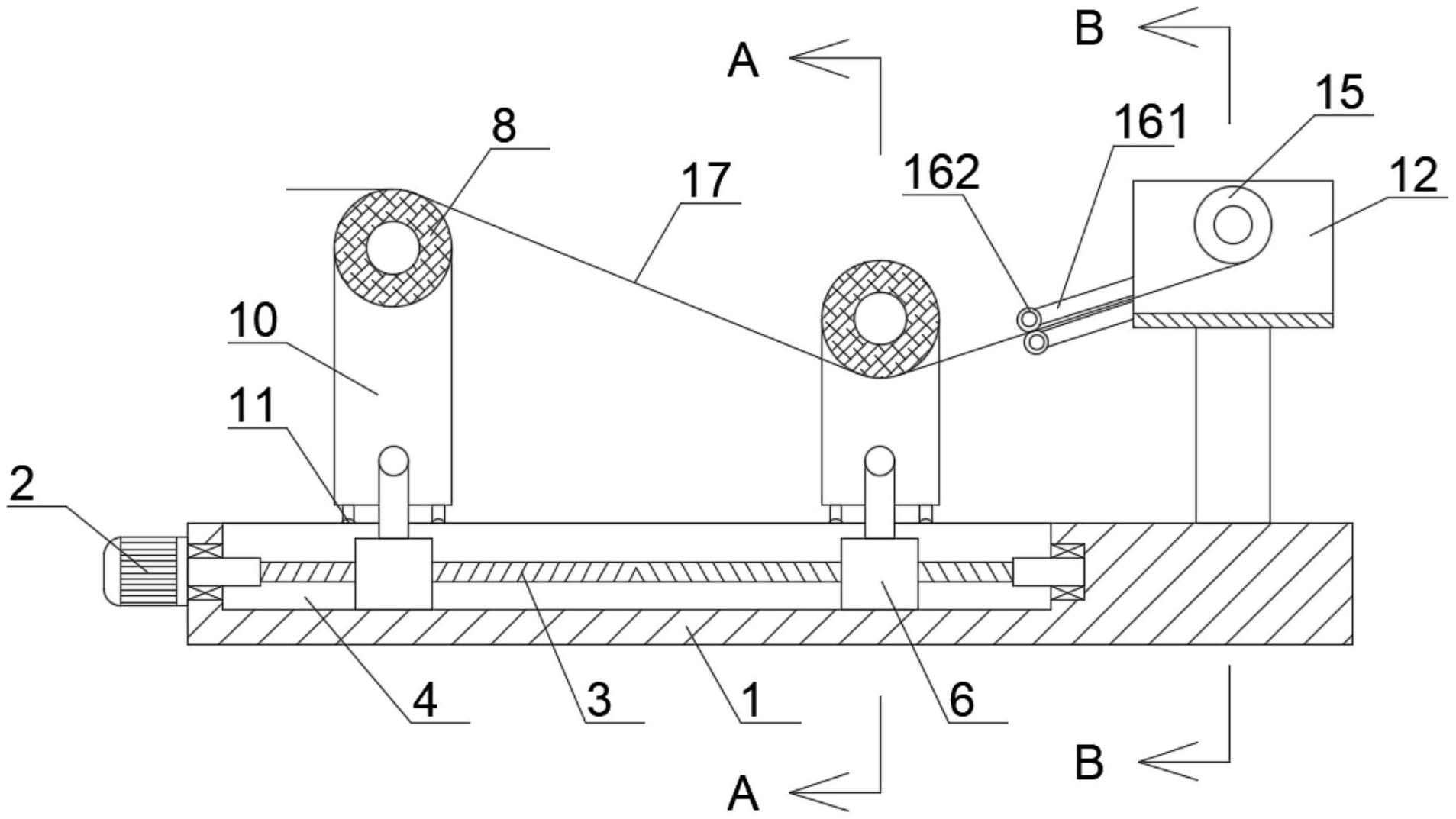
本实用新型公开了保鲜膜技术领域的一种保鲜膜生产用卷膜装置,包括底板,底板的左侧安装设置有第一电机,第一电机的右侧动力输出端固接有双向丝杆,底板的顶部开设有滑槽和两组滚轮槽,且两组滚轮槽分别位于滑槽的前后两侧,双向丝杆通过轴承与滑槽的侧壁转动连接,双向丝杆的圆周外侧螺接有两组对称的滑块,滑块的顶部固接有带动架,底板的顶部设置有两组拉伸辊,拉伸辊的前后两侧均转动连接有升降座,升降座的底部固接有升降器,升降器与带动架相固接。本实用新型便于快速精准调节保鲜膜的张紧力,便于保持保鲜膜的平整;便于在换辊时保持保鲜膜的位置,避免保鲜膜收缩;便于装置卸料,便于广泛使用。


