授权公布号:CN210389731U
一种用于制作保鲜膜的原料熔解混匀装置
有效
申请
2019-08-07
申请公布
1970-01-01
授权
2020-04-24
预估到期
2029-08-07
| 申请号 | CN201921267979.3 |
| 申请日 | 2019-08-07 |
| 授权公布号 | CN210389731U |
| 授权公告日 | 2020-04-24 |
| 分类号 | B29B7/16;B29B7/22;B29B7/26;B29B13/10;B29B7/82 |
| 分类 | 塑料的加工;一般处于塑性状态物质的加工; |
| 申请人名称 | 福州永鑫塑料包装用品有限公司 |
| 申请人地址 | 福建省福州市平潭县工业园区松南村上游209号 |
专利法律状态
2020-04-24
授权
状态信息
授权
摘要
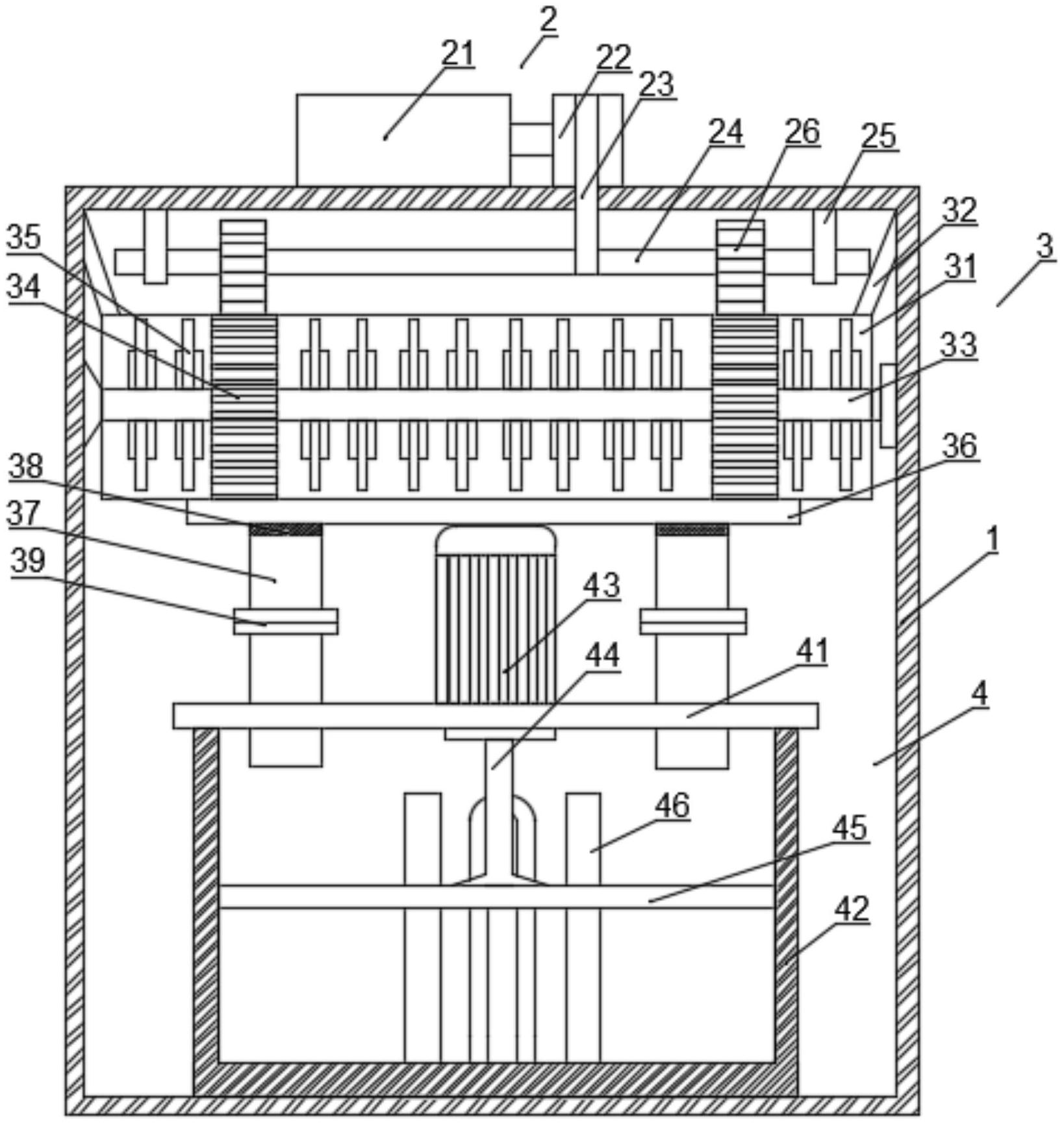
本实用新型公开了一种用于制作保鲜膜的原料熔解混匀装置,涉及塑料袋生产设备领域,包括工作仓、搅匀装置、加热装置,搅匀装置包括上端设有开口的筒体,筒体内部横向贯穿一旋转轴,旋转轴上套有齿轮和搅拌杆,旋转轴通过齿轮和连接杆上的齿轮啮合而转动起搅拌作用,连接杆通过电机带动旋转,筒体的下方设有导料管,导料管的出料端设在加热装置内部,加热装置内部设有向运动的下压板和加热棒。本实用新型通过在连接杆上设置齿轮,此齿轮和旋转轴上的齿轮啮合从而间接带动搅拌杆运动,使得将原料打散打匀,再通过在加热装置中设置下压板,促进原料在加热装置中温度能够均匀分布。


