授权公布号:CN217331897U9
一种乳胶手套胶膜强度检测装置
有效
申请
2021-12-28
申请公布
1970-01-01
授权
2022-10-11
预估到期
2031-12-28
| 申请号 | CN202123344174.4 |
| 申请日 | 2021-12-28 |
| 授权公布号 | CN217331897U9 |
| 授权公告日 | 2022-10-11 |
| 分类号 | G01N3/04;G01N3/08 |
| 分类 | 测量;测试; |
| 申请人名称 | 上海科邦医用乳胶器材有限公司 |
| 申请人地址 | 上海市闵行区纪丰路98号 |
专利法律状态
2022-10-11
实用新型专利更正
状态信息
实用新型专利更正;卷=38;号=35-01;页码=全文;更正项目=实用新型名称;摘要;权利要求书;说明书;误=一种乳胶于套胶膜强度检测装置;错误;正=一种乳胶手套胶膜强度检测装置;正确
2022-10-11
实用新型专利公报更正
状态信息
实用新型专利公报更正;卷=38;号=35-01;更正项目=实用新型名称;摘要;误=一种乳胶于套胶膜强度检测装置;错误;正=一种乳胶手套胶膜强度检测装置;正确
2022-08-30
授权
状态信息
授权
摘要
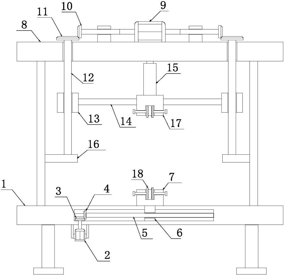
一种乳胶手套胶膜强度检测装置,包括:固定台,固定台下端一侧固定连接伺服电机,伺服电机输出端固定连接第一伞齿轮,第一伞齿轮一侧啮合连接第二伞齿轮,第二伞齿轮一侧固定连接第一螺纹杆,第一螺纹杆和固定台内壁转动连接,第一螺纹杆上螺纹连接移动环,移动环上端固定连接第一夹持台,固定台上端固定连接支撑架,支撑架上端固定连接双头电机,双头电机两侧输出端均通过转杆固定连接第三伞齿轮,本实用新型的有益效果是:通过设置的伺服电机带动的第一夹持台和双头电机带动的第二夹持台结构,能够对胶膜进行垂直与水平的强度检测,从而能够更好的检测胶膜的强度,使胶膜的检测更加全面,避免出现遗漏。


