授权公布号:CN217331502U
一种乳胶手套生产用气检灯检装置
有效
申请
2021-12-28
申请公布
1970-01-01
授权
2022-08-30
预估到期
2031-12-28
| 申请号 | CN202123344209.4 |
| 申请日 | 2021-12-28 |
| 授权公布号 | CN217331502U |
| 授权公告日 | 2022-08-30 |
| 分类号 | G01M3/02;G01N21/954 |
| 分类 | 测量;测试; |
| 申请人名称 | 上海科邦医用乳胶器材有限公司 |
| 申请人地址 | 上海市闵行区纪丰路98号 |
专利法律状态
2022-08-30
授权
状态信息
授权
摘要
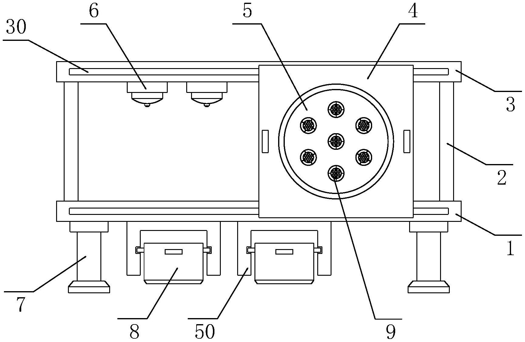
一种乳胶手套生产用气检灯检装置,包括台板,台板的顶端固定安装有四个支撑架,四个支撑架的顶端共同安装有顶板,顶板的底端安装有若干充气座,顶板和台板上共同滑动安装有第一侧板和第二侧板,第一侧板上安装有放大镜,第二侧板上安装有若干射灯,台板的底端滑动安装有两个接料盒,本实用新型具有以下优点:将手套套接定位在顶板上安装的充气座上,即可进行气检作业,当气检结束后,工作人员手动推动第一侧板,继而将灯检结构推移至手套安装的位置,通过射灯向手套投射光线,工作人员从放大镜处即可观察手套内部是否存在杂质,便于对其进行灯检,在气检灯检过程中,无需工作人员频繁取下手套再对其进行安装,大大降低了工作人员的劳动强度。


