授权公布号:CN213114063U
一种协助提高裁剪准确度的裁剪装置
有效
申请
2020-09-04
申请公布
1970-01-01
授权
2021-05-04
预估到期
2030-09-04
| 申请号 | CN202021910427.2 |
| 申请日 | 2020-09-04 |
| 授权公布号 | CN213114063U |
| 授权公告日 | 2021-05-04 |
| 分类号 | D06H7/00;B26D7/18 |
| 分类 | 织物等的处理;洗涤;其他类不包括的柔性材料; |
| 申请人名称 | 青岛琴萍针织服装有限公司 |
| 申请人地址 | 山东省青岛市即墨区王村镇卧龙工业区润龙一路1号 |
专利法律状态
2021-05-04
授权
状态信息
授权
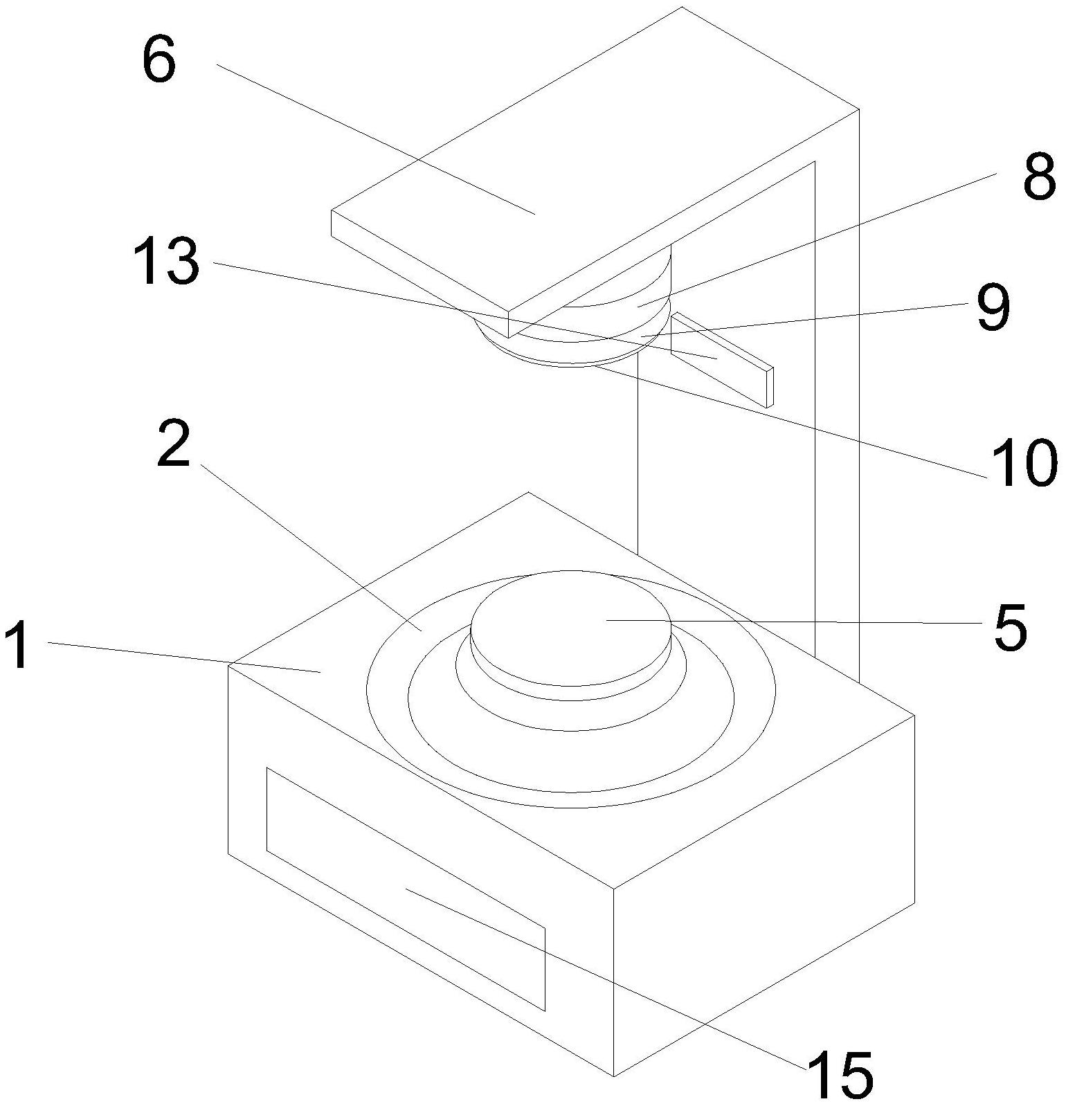
摘要
本实用新型涉及裁剪装置技术领域,且公开了一种协助提高裁剪准确度的裁剪装置,包括工作台、裁剪盘以及液压伸缩杆,工作台上设置有用于放置布料的裁剪盘,工作台后壁面固定安装有横截面为“L”形的支撑板。本实用新型中,在使用时启动液压伸缩杆带动挤压块向下移动,因为挤压块上固定块位于刀片的下方,当挤压块向下移动时固定块会首先与裁剪盘接触,将裁剪盘上布料进行固定,当挤压块继续向下时缓冲弹簧发生形变使得挤压块上四个功能块也同时与布料挤压接触,对裁剪盘上布料进行二次固定,最后刀片对布料多余部分进行裁剪,通过固定块与四个功能块的两次固定,避免了在裁剪过程中布料产生偏移,导致裁剪不准确的问题,提高了生产效率。


