授权公布号:CN218596439U
一种皮鞋生产用打孔机
有效
申请
2022-11-11
申请公布
1970-01-01
授权
2023-03-10
预估到期
2032-11-11
| 申请号 | CN202222999817.7 |
| 申请日 | 2022-11-11 |
| 授权公布号 | CN218596439U |
| 授权公告日 | 2023-03-10 |
| 分类号 | C14B5/00;C14B17/00;C14B17/14 |
| 分类 | 小原皮;大原皮;毛皮;皮革; |
| 申请人名称 | 浙江佰纳鞋业有限公司 |
| 申请人地址 | 浙江省温州市永嘉县瓯北镇堡一工业区 |
专利法律状态
2023-03-10
授权
状态信息
授权
摘要
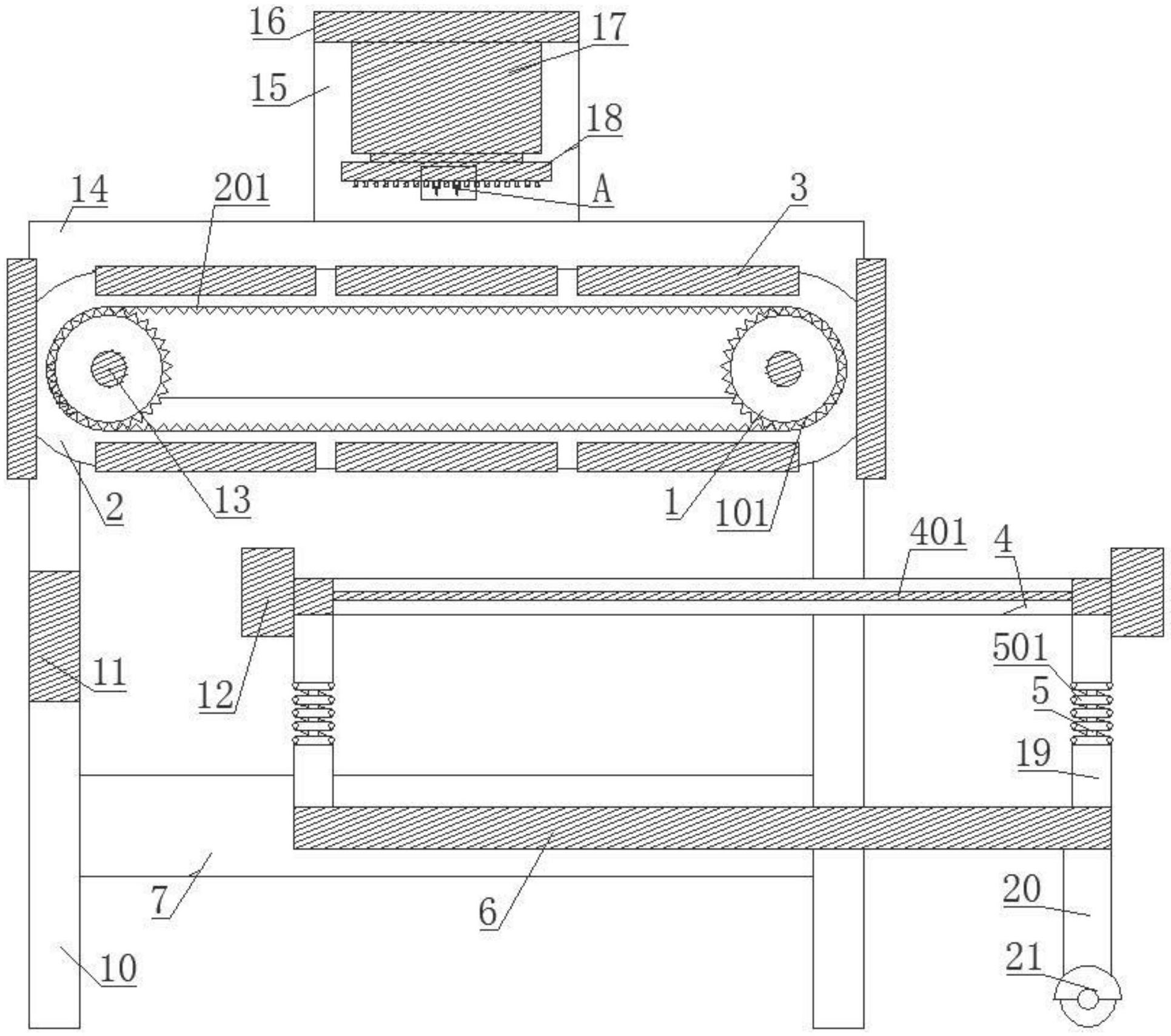
本实用新型公开了一种皮鞋生产用打孔机,包括两个侧板和若干支脚,所述侧板与所述侧板之间设有运输结构,两个所述侧板上端均固定设有立板,所述立板与立板上端之间固定设有顶板,所述顶板下端固定设有气缸,所述气缸的移动端与钉板上端固定连接,所述钉板上设有若干外螺纹柱,所述外螺纹柱外通过螺纹连接设有固定柱,所述固定柱下端均固定设有钉头,一侧所述支脚与支脚之间均固定设有固定板,所述固定板与所述固定板之间设有移动板,所述移动板上端四角均固定设有弹簧柱,所述弹簧柱上端固定设有支架,所述支架中心固定设有滤网,所述支架两端均固定设有震动电机;本实用新型打孔效率高且可实现对皮革上废料的清理。


