授权公布号:CN216416225U
一种便于调节鞋口松紧的户外鞋
有效
申请
2021-08-04
申请公布
1970-01-01
授权
2022-05-03
预估到期
2031-08-04
| 申请号 | CN202121805381.2 |
| 申请日 | 2021-08-04 |
| 授权公布号 | CN216416225U |
| 授权公告日 | 2022-05-03 |
| 分类号 | A43B23/02;A43C11/00;A43B5/00 |
| 分类 | 鞋类; |
| 申请人名称 | 湖北孺子牛鞋业集团有限公司 |
| 申请人地址 | 湖北省黄冈市蕲春县刘河镇刘河大道11号 |
专利法律状态
2022-05-03
授权
状态信息
授权
摘要
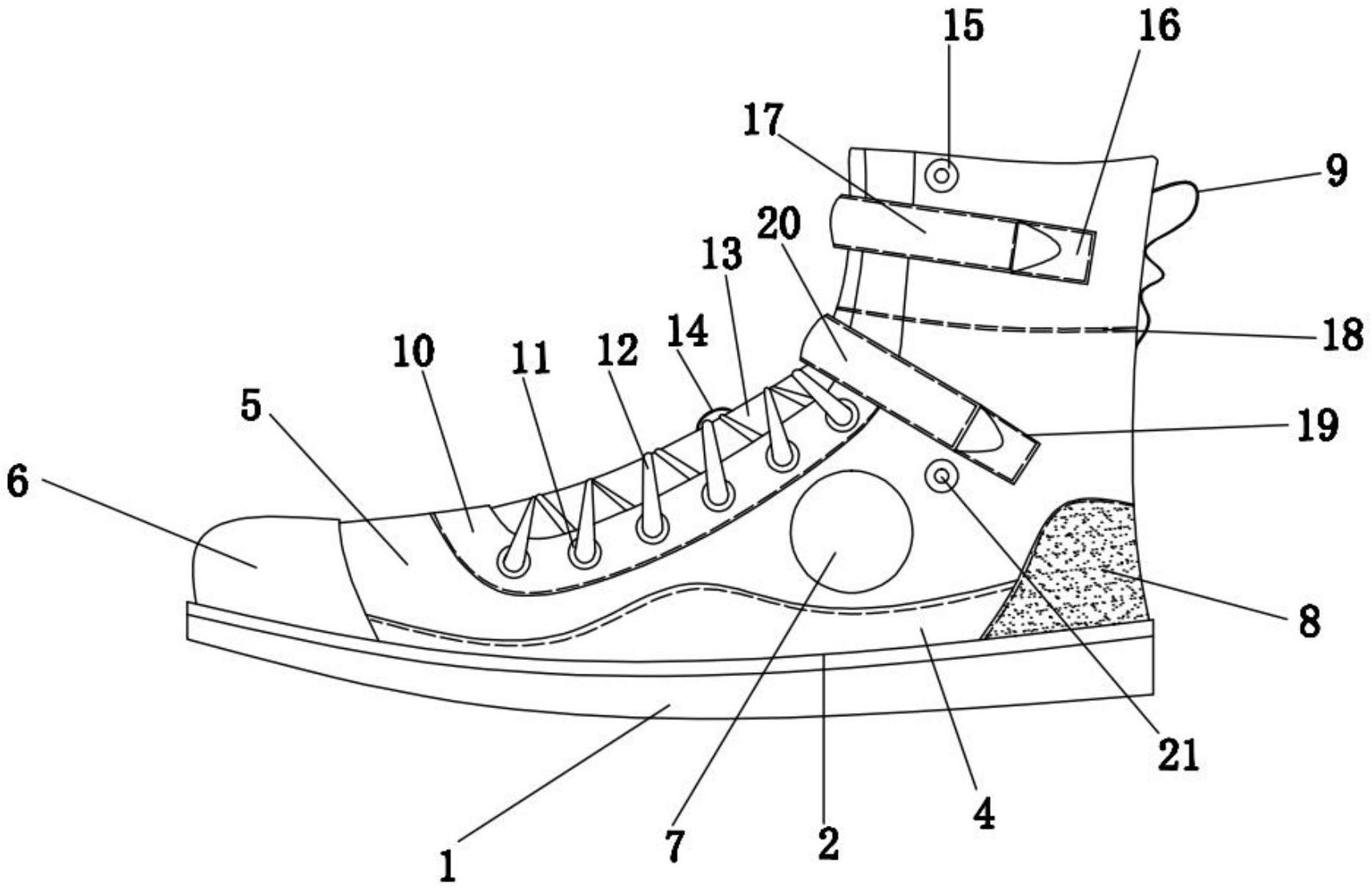
本实用新型涉及鞋子技术领域,且公开了一种便于调节鞋口松紧的户外鞋,包括鞋底,所述鞋底上表面固定粘接有软垫夹层,所述软垫夹层的上方放置有鞋垫,所述鞋帮的外表面底部加设有品牌标识,所述鞋带布的内表面固定加设有鞋舌,所述鞋帮的外表面最上端加设有工字扣A件,该便于调节鞋口松紧的户外鞋,通过在鞋口下,鞋帮外表面加设了魔术贴,便于穿鞋者根据自身的需要自行改动魔术贴的贴合位置来调节鞋口的松紧度,鞋帮上加设的折痕可根据需要将鞋帮向外折起,降低鞋帮的高度,且以折痕为对称轴的工字扣A件和工字扣B件、魔术贴硬爪件和魔术贴软毛件可保证鞋帮折起来时,依旧保持有一定的稳定性和美观性。


