授权公布号:CN213408367U
一种车间用节能降耗的调浆筒
有效
申请
2020-08-05
申请公布
1970-01-01
授权
2021-06-11
预估到期
2030-08-05
| 申请号 | CN202021602965.5 |
| 申请日 | 2020-08-05 |
| 授权公布号 | CN213408367U |
| 授权公告日 | 2021-06-11 |
| 分类号 | B01F7/18;B01F15/00 |
| 分类 | 一般的物理或化学的方法或装置; |
| 申请人名称 | 枣庄海扬王朝纺织有限公司 |
| 申请人地址 | 山东省枣庄市台儿庄区文化西路 |
专利法律状态
2021-06-11
授权
状态信息
授权
摘要
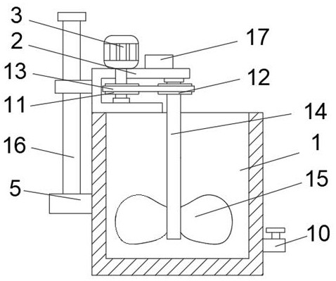
本实用新型公开了一种车间用节能降耗的调浆筒,包括筒体,所述筒体的上表面固定连接有支撑架,所述支撑架的上表面固定连接有第一电机和变频器,所述第一电机的驱动端贯穿支撑架的顶壁延伸至支撑架的内部且与支撑架的内底壁转动连接,所述第一电机的外表面固定套接有第一带轮,所述支撑架的内顶壁转动连接有搅拌杆,所述搅拌杆的外表面固定套接有第二带轮,所述第一带轮与第二带轮之间连接有皮带,所述搅拌杆的一端延伸至筒体的内部且固定连接有搅拌叶片。本实用新型通过改变搅拌电机的频率,进行节能降耗,降低机器的故障率,并通过使搅拌杆能上下移动和较大叶片的设置使其调浆更加均匀。


