授权公布号:CN207417974U
一种便于收卷的液压储纱架
有效
申请
2017-08-10
申请公布
1970-01-01
授权
2018-05-29
预估到期
2027-08-10
| 申请号 | CN201721051030.0 |
| 申请日 | 2017-08-10 |
| 授权公布号 | CN207417974U |
| 授权公告日 | 2018-05-29 |
| 分类号 | B65H20/30 |
| 分类 | 输送;包装;贮存;搬运薄的或细丝状材料; |
| 申请人名称 | 枣庄海扬王朝纺织有限公司 |
| 申请人地址 | 山东省枣庄市台儿庄区文化西路 |
专利法律状态
2018-05-29
授权
状态信息
授权
摘要
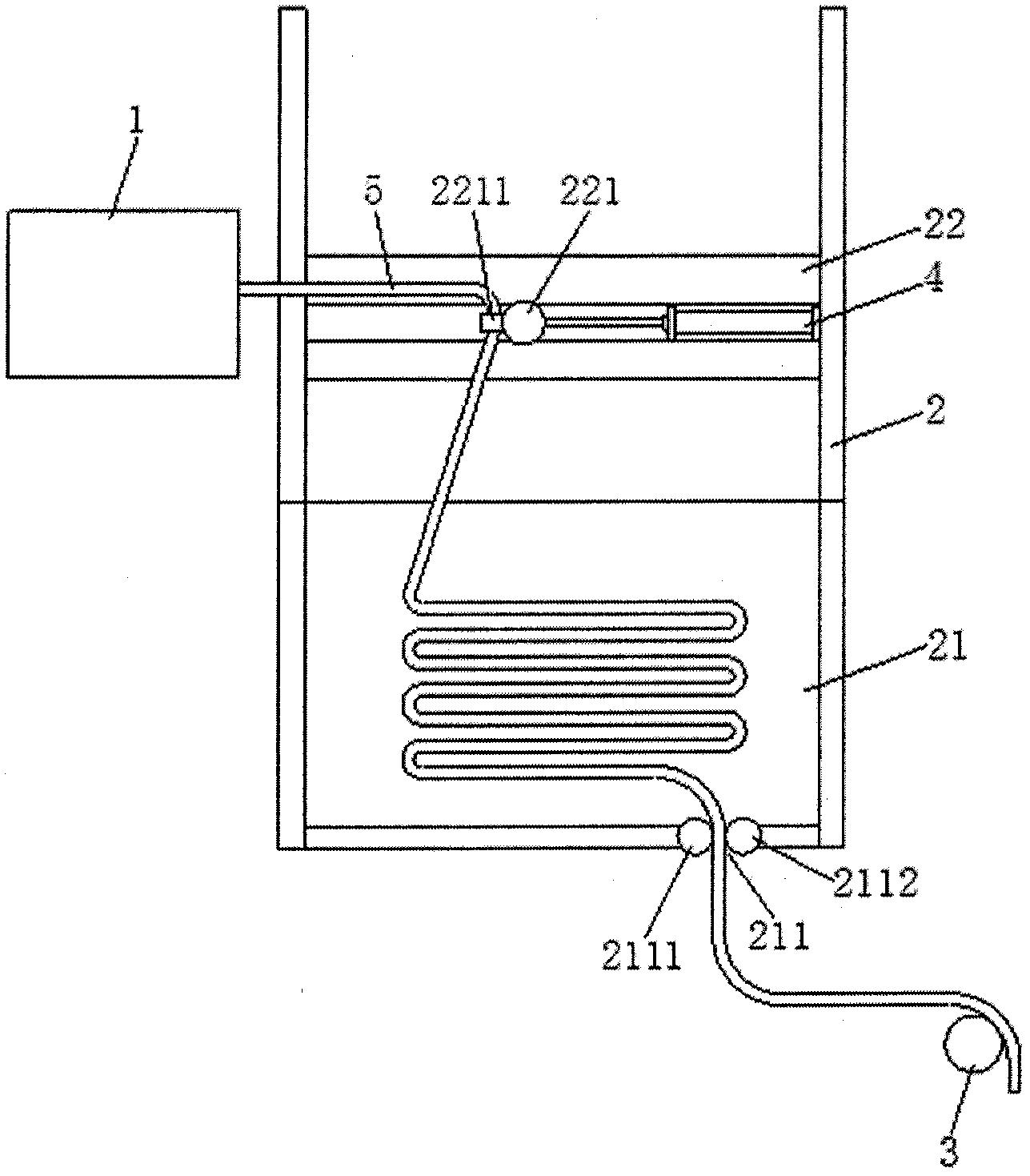
本实用新型公开了一种便于收卷的液压储纱架,包括染色装置、储纱架本体和收卷装置,所述染色装置的一侧设置有储纱架本体,所述储纱架本体的上端安装有支撑板,所述支撑板上连接有推杆,所述推杆的一侧固定连接有挡杆,所述推杆远离挡杆的一侧固定连接有气缸。本实用新型便于收卷的液压储纱架,经过染色装置染色之后的纱布缠绕在推杆一侧的挡杆上,气缸推动推杆在支撑板上滑动,使得连接在推杆一侧的挡杆同步移动,带动挡杆上的纱布移动,可以将染色之后收卷装置来不及收卷的大量纱布整齐的放置于储纱箱内,放置在储纱箱内的纱布沿着第一导向棍和第二导向棍向收卷装置收卷,便于收卷,同时使染色装置和收卷装置可以很好的运作。


