授权公布号:CN214844665U
一种一次性卫生用品渗透测试系统
有效
申请
2021-01-20
申请公布
1970-01-01
授权
2021-11-23
预估到期
2031-01-20
| 申请号 | CN202120148798.X |
| 申请日 | 2021-01-20 |
| 授权公布号 | CN214844665U |
| 授权公告日 | 2021-11-23 |
| 分类号 | G01N15/08 |
| 分类 | 测量;测试; |
| 申请人名称 | 中天(中国)工业有限公司 |
| 申请人地址 | 福建省泉州市南安市洪濑镇中天工业园 |
专利法律状态
2021-11-23
授权
状态信息
授权
摘要
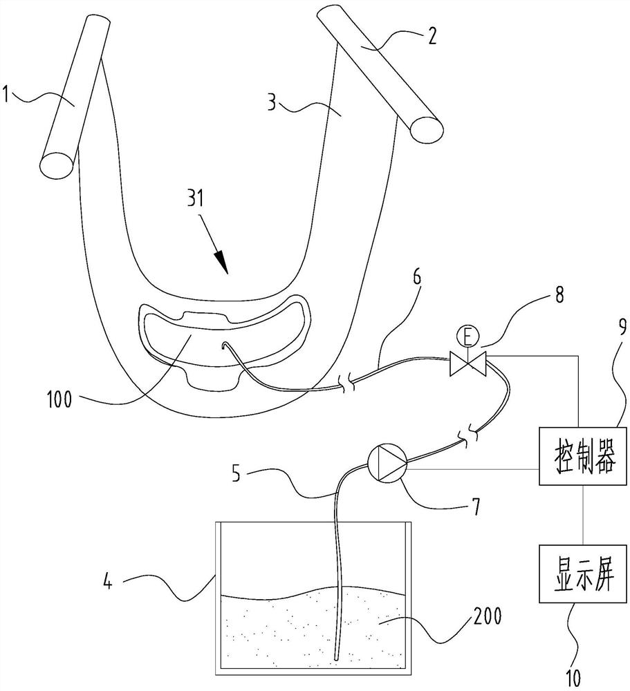
本实用新型涉及一种一次性卫生用品渗透测试系统,包括第一人体体位模拟装置、储液罐、第一输液管、第二输液管、蠕动泵、流量调节阀和控制器;第一人体体位模拟装置包括第一安装杆、第二安装杆和塑料膜;塑料膜两侧分别固定在第一安装杆和第二安装杆;塑料膜的中部受重力自然下垂形成符合人体站立姿势时裆部形状的U形面;U形面上设有待测试一次性卫生用品;第一输液管的第一端伸入储液罐内;第一输液管穿过蠕动泵,第一输液管的第二端通过流量调节阀连接第二输液管的第一端,第二输液管的第二端设在待测试一次性卫生用品表面;蠕动泵和流量调节阀分别与控制器电连接。本实用新型操作简单,可以高效、精准的测试一次性卫生用品的渗透性能。


