授权公布号:CN211583852U
一种防侧漏吸收制品
有效
申请
2019-10-30
申请公布
1970-01-01
授权
2020-09-29
预估到期
2029-10-30
| 申请号 | CN201921843932.7 |
| 申请日 | 2019-10-30 |
| 授权公布号 | CN211583852U |
| 授权公告日 | 2020-09-29 |
| 分类号 | A61F13/494 |
| 分类 | 医学或兽医学;卫生学; |
| 申请人名称 | 中天(中国)工业有限公司 |
| 申请人地址 | 福建省泉州市南安市洪濑镇中天工业园 |
专利法律状态
2020-09-29
授权
状态信息
授权
摘要
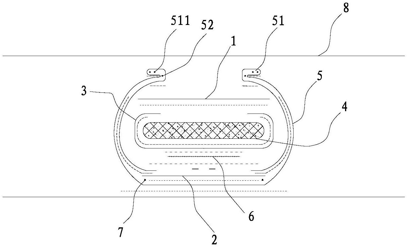
本实用新型公开一种防侧漏吸收制品,包括吸收制品本体,吸收制品本体包括透液面层、吸收芯层以及防水底层,透液面层的宽度不大于吸收芯层的宽度,还包括具有多层结构的立体护围,立体护围包括至少两层防漏无纺布,此两层防漏无纺布分别与防水底层的上表面和下表面复合在一起,且位于防水底层上表面的防漏无纺布的底部为断面结构,使得此层的防漏无纺布形成一断口结构,立体护围的上端分别向外翻折形成防侧漏隔边,吸收芯层和防水底层之间设置有一可横向拉伸的弹性膜层,位于防水底层下表面的防漏无纺布的底部两侧内分别设置有可纵向收缩的裆部橡筋。本实用新型一种防侧漏吸收制品,实现全方位防侧漏,且可以节约成本。


