授权公布号:CN216021703U
一种一次性轻薄游泳裤
有效
申请
2021-08-10
申请公布
1970-01-01
授权
2022-03-15
预估到期
2031-08-10
| 申请号 | CN202121857371.3 |
| 申请日 | 2021-08-10 |
| 授权公布号 | CN216021703U |
| 授权公告日 | 2022-03-15 |
| 分类号 | A61F13/496;A61F13/494;A61L15/40;A61L15/46;A61L15/18;A41D7/00 |
| 分类 | 医学或兽医学;卫生学; |
| 申请人名称 | 中天(中国)工业有限公司 |
| 申请人地址 | 福建省泉州市南安市洪濑镇中天工业园 |
专利法律状态
2022-03-15
授权
状态信息
授权
摘要
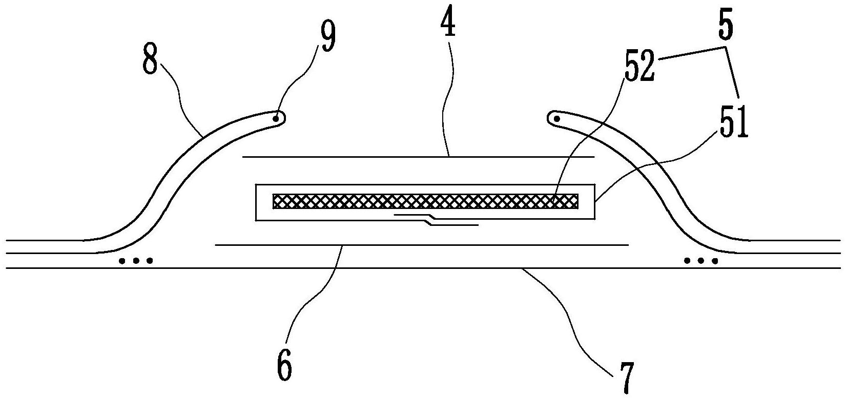
本实用新型涉及一次性卫生用品领域,提供一种一次性轻薄游泳裤,包括游泳裤本体,所述游泳裤本体的两端分别设有对应人体前腰的前腰围和对应人体后腰的后腰围,所述游泳裤本体包括由上到下依次叠设的竹纤维层、吸收层、除臭层、防水层,所述吸收层包括膨化纸和膨松无纺布,所述膨化纸的侧边向下翻折包裹膨松无纺布,所述游泳裤本体的两侧设有立体护围,所述立体护围由拒水无纺布向内弯折形成,所述立体护围的一端延伸至与防水层的侧边对齐,所述立体护围弯折一端内设有护围橡筋。其解决了现有一次性游泳裤功能单一,无法起到抗菌除臭效果的问题。


