授权公布号:CN213218269U
一种环保型纸尿裤
有效
申请
2020-07-24
申请公布
1970-01-01
授权
2021-05-18
预估到期
2030-07-24
| 申请号 | CN202021484902.4 |
| 申请日 | 2020-07-24 |
| 授权公布号 | CN213218269U |
| 授权公告日 | 2021-05-18 |
| 分类号 | A61F13/496;A61F13/494;A61F13/53 |
| 分类 | 医学或兽医学;卫生学; |
| 申请人名称 | 婴舒宝(中国)有限公司 |
| 申请人地址 | 福建省泉州市晋江市经济开发区(食品园)智造大道(罗山街道) |
专利法律状态
2021-05-18
授权
状态信息
授权
摘要
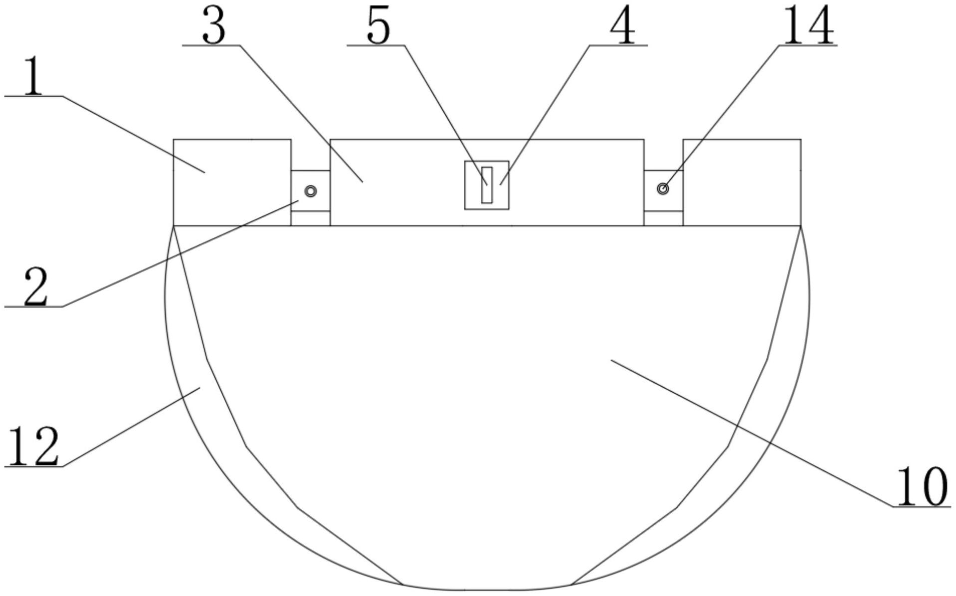
本实用新型涉及婴幼儿用品技术领域,尤其为一种环保型纸尿裤,包括裤边、卡条、固定条和侧边条,所述裤边下端设置有裤面,所述裤面上端与裤边下端固定连接,所述裤面后端设置有吸水面,所述吸水面与裤面固定连接,所述裤边内部设置有橡筋条,所述裤面上端中部设置有固定条,所述固定条下端与裤面上端中部固定连接,所述固定条前端中部设置有卡块,所述裤面上方设置有卡条,所述卡块后端与固定条中部固定连接,所述卡块前端中部设置有拉板,所述卡块内部设置有活板,所述活板与拉板后端固定连接,本实用新型通过卡条和卡环以及拉板可以将纸尿裤进行紧固穿戴,而且侧边条还可以有效防止大腿处的侧漏,非常实用方便。


