授权公布号:CN211261681U
一种用于谷氨酸菌体蛋白的新型烘干装置
有效
申请
2019-12-10
申请公布
1970-01-01
授权
2020-08-14
预估到期
2029-12-10
| 申请号 | CN201922189658.2 |
| 申请日 | 2019-12-10 |
| 授权公布号 | CN211261681U |
| 授权公告日 | 2020-08-14 |
| 分类号 | F26B17/34 |
| 分类 | 干燥; |
| 申请人名称 | 山东阜丰发酵有限公司 |
| 申请人地址 | 山东省临沂市莒南县城淮海路西段 |
专利法律状态
2020-08-14
授权
状态信息
授权
摘要
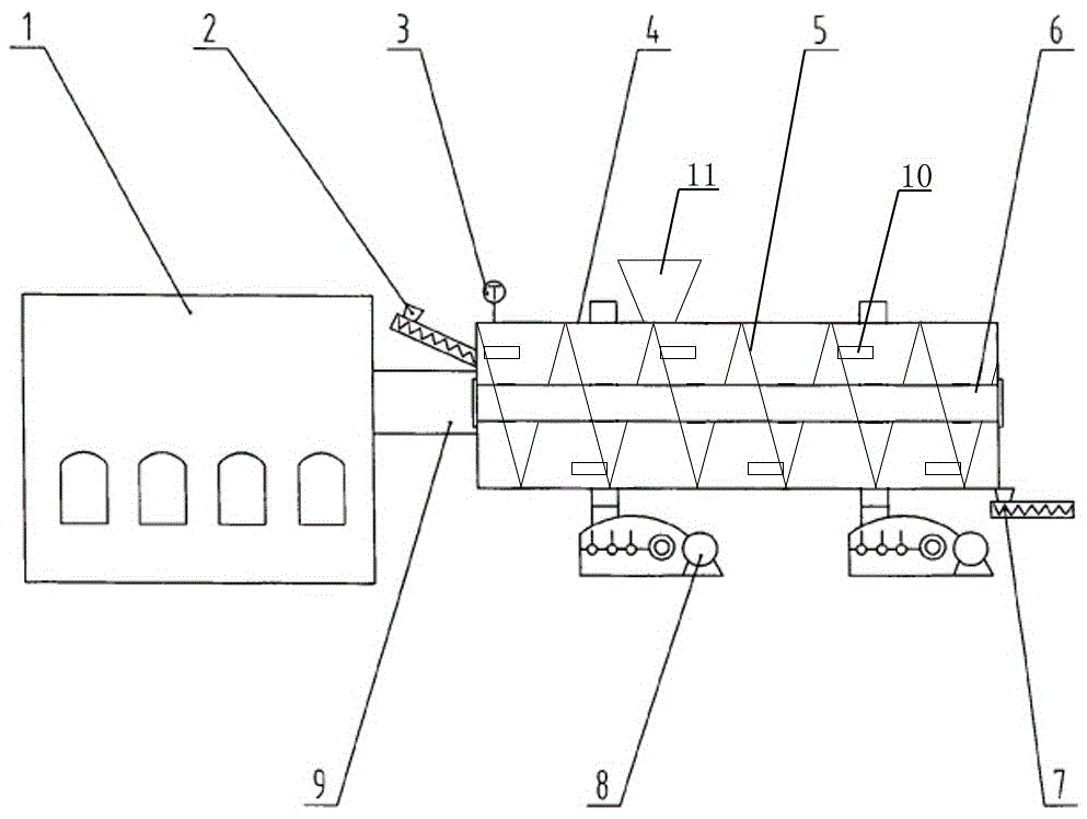
本实用新型公开了一种用于谷氨酸菌体蛋白的新型烘干装置,它包括热风炉、滚筒和动力装置,其特征是热风炉和滚筒由热风管道连通,滚筒的两端分别设有进料绞龙和出料绞龙,滚筒内设有主轴,主轴上均匀设有螺旋搅拌叶片,所说动力装置通过齿轮与滚筒外面设有的齿轮相啮合;滚筒的顶部设有与其连通的二次加料斗;螺旋搅拌叶片上设有若干拨动板。本实用新型设计合理,结构紧凑,维修方便,解决了现有技术操作不方便、系统连贯性不好、产品质量差和拌效果差不能二次加料的技术问题,由于该烘干设备结构紧凑、操作方便、生产连续好、投资少,因此,在蛋白生产行业中具有推广应用价值。


