授权公布号:CN205706825U
一种婴儿推车的刹车装置
有效
申请
2016-03-24
申请公布
1970-01-01
授权
2016-11-23
预估到期
2026-03-24
| 申请号 | CN201620232000.9 |
| 申请日 | 2016-03-24 |
| 授权公布号 | CN205706825U |
| 授权公告日 | 2016-11-23 |
| 分类号 | B62B9/08 |
| 分类 | 无轨陆用车辆; |
| 申请人名称 | 宁波爱贝丽运动用品有限公司 |
| 申请人地址 | 浙江省宁波市北仑区新碶明州西路548号4幢1号三层 |
专利法律状态
2016-11-23
授权
状态信息
授权
摘要
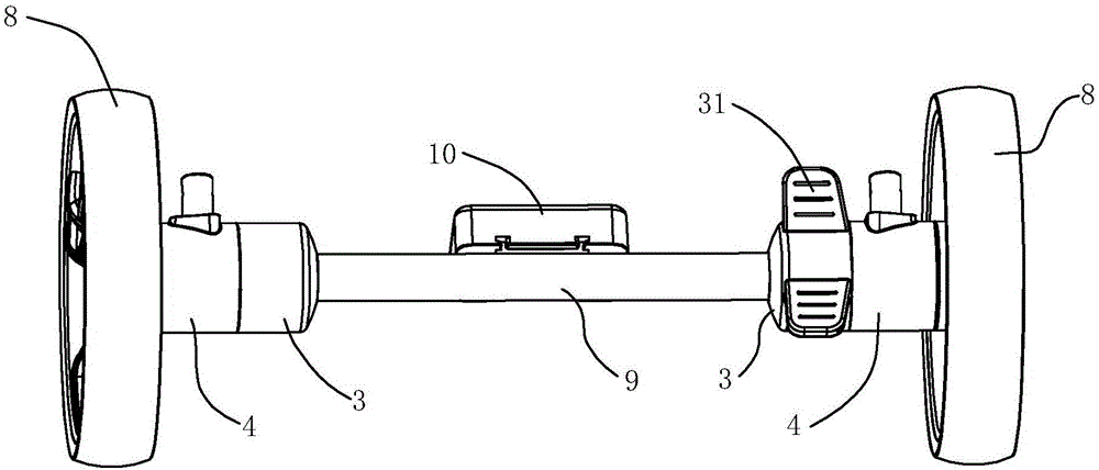
一种婴儿推车的刹车装置,包括机械式刹车模块和感应式刹车模块,感应式刹车模块包括设于后轮连接杆的端部内侧的电机,沿后轮连接杆的轴向设置的电动刹车杆,电动刹车杆在电机的驱动下沿后轮连接杆移动插入刹车槽内锁定后轮;机械式刹车模块包括位于后轮连接杆的端部与后轮之间的刹车套筒,以及与刹车套筒配合的沿后轮连接杆的轴向设置的机械刹车杆,该机械刹车杆在刹车套筒的转动驱动下沿后轮连接杆移动插入所述刹车槽内锁定后轮。该婴儿推车的刹车装置中,机械式刹车模块和感应式刹车模块为相互独立的两套系统,可以同时使用也可以分开使用,使用者可以根据需要根据方便自行选择。


