授权公布号:CN213258060U
童车轮自动锁螺丝装置
有效
申请
2020-07-16
申请公布
1970-01-01
授权
2021-05-25
预估到期
2030-07-16
| 申请号 | CN202021407313.6 |
| 申请日 | 2020-07-16 |
| 授权公布号 | CN213258060U |
| 授权公告日 | 2021-05-25 |
| 分类号 | B23P19/06 |
| 分类 | 机床;不包含在其他类目中的金属加工; |
| 申请人名称 | 博格步(厦门)轻工制品有限公司 |
| 申请人地址 | 福建省厦门市海沧区出口加工区海沧海景南二路49号 |
专利法律状态
2021-05-25
授权
状态信息
授权
摘要
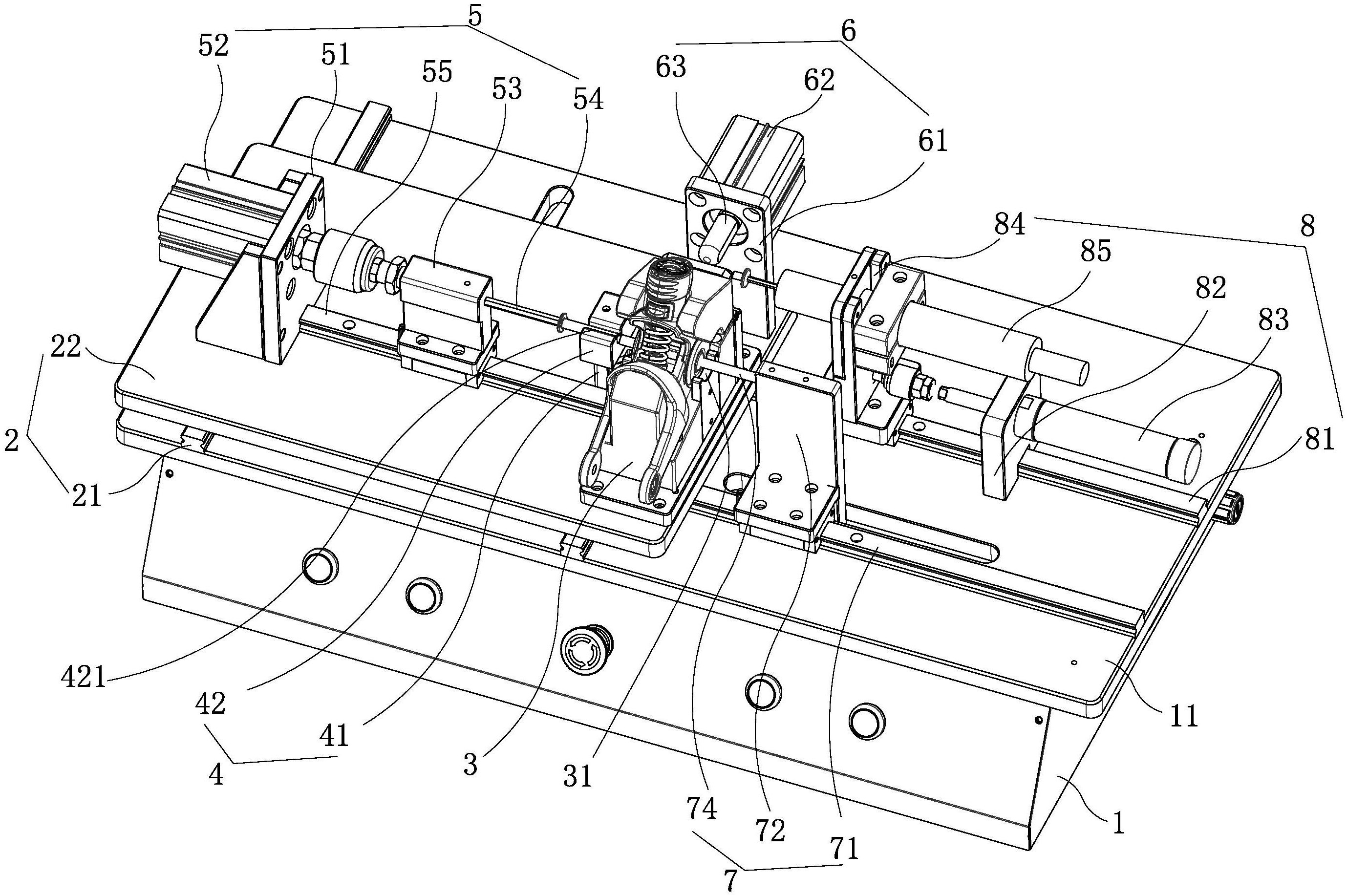
本实用新型公开了一种童车轮自动锁螺丝装置,包括机架、滑台组件、定位基座、轴定位槽组件、穿轴组件、压紧组件、定位轴组件、锁螺丝组件;所述滑台组件、定位轴组件、锁螺丝组件皆固定安装在机架的工作台面上,定位基座、轴定位槽组件、穿轴组件、压紧组件皆安装在滑台组件上。由于本实用新型压紧组件上的压紧块可将产品压紧,定位轴组件上的导轴可穿过产品中心轴孔并顶住螺栓,穿轴组件上的推杆顺着导轴将螺栓推入产品轴孔,滑台组件上的滑台气缸将产品移动到锁螺丝工位,锁螺丝组件上的气批锁入放置于批头上的螺丝,完成产品螺丝与螺栓的装配过程,具有动作稳定可靠的优点。


