授权公布号:CN213264310U
无动力滑架
有效
申请
2020-07-16
申请公布
1970-01-01
授权
2021-05-25
预估到期
2030-07-16
| 申请号 | CN202021407719.4 |
| 申请日 | 2020-07-16 |
| 授权公布号 | CN213264310U |
| 授权公告日 | 2021-05-25 |
| 分类号 | B65G35/06 |
| 分类 | 输送;包装;贮存;搬运薄的或细丝状材料; |
| 申请人名称 | 博格步(厦门)轻工制品有限公司 |
| 申请人地址 | 福建省厦门市海沧区出口加工区海沧海景南二路49号 |
专利法律状态
2021-05-25
授权
状态信息
授权
摘要
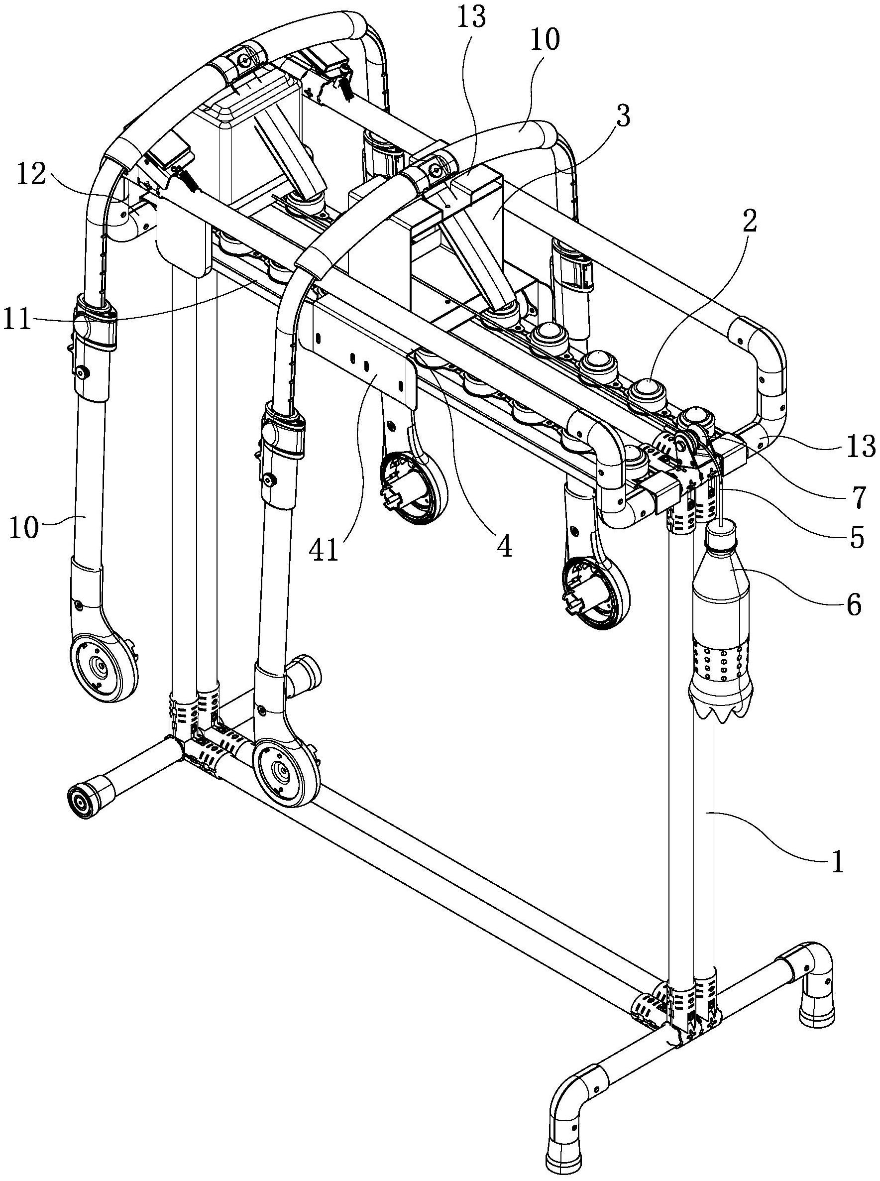
本实用新型公开了一种无动力滑架,包括机架、滚珠输送带、产品安装座、滑座、拉绳、配重块、导向轮;所述滚珠输送带固定安装在机架的工作台面上,产品安装座的底面固定在滑座上,滑座滑接在滚珠输送带上且可沿滚珠输送带滑动;所述拉绳的一端与滑座连接,拉绳的另一端与配重块连接,拉绳的中部绕接在导向轮上,导向轮可旋转的安装在工作台面上,配重块悬挂在机架的出料侧。由于本实用新型机架顶部的工作台面呈倾斜状,滑座可滑接在机架工作台面上的滚珠输送带,利用产品的重量,使放置在产品安装座上的产品沿倾斜的滚珠输送带自进料端向出料端滑动,无需动力,节约电力。


