授权公布号:CN211889760U
童车中央关节压合装置
有效
申请
2019-12-30
申请公布
1970-01-01
授权
2020-11-10
预估到期
2029-12-30
| 申请号 | CN201922451604.9 |
| 申请日 | 2019-12-30 |
| 授权公布号 | CN211889760U |
| 授权公告日 | 2020-11-10 |
| 分类号 | B23P19/027 |
| 分类 | 机床;不包含在其他类目中的金属加工; |
| 申请人名称 | 博格步(厦门)轻工制品有限公司 |
| 申请人地址 | 福建省厦门市海沧区出口加工区海沧海景南二路49号 |
专利法律状态
2020-11-10
授权
状态信息
授权
摘要
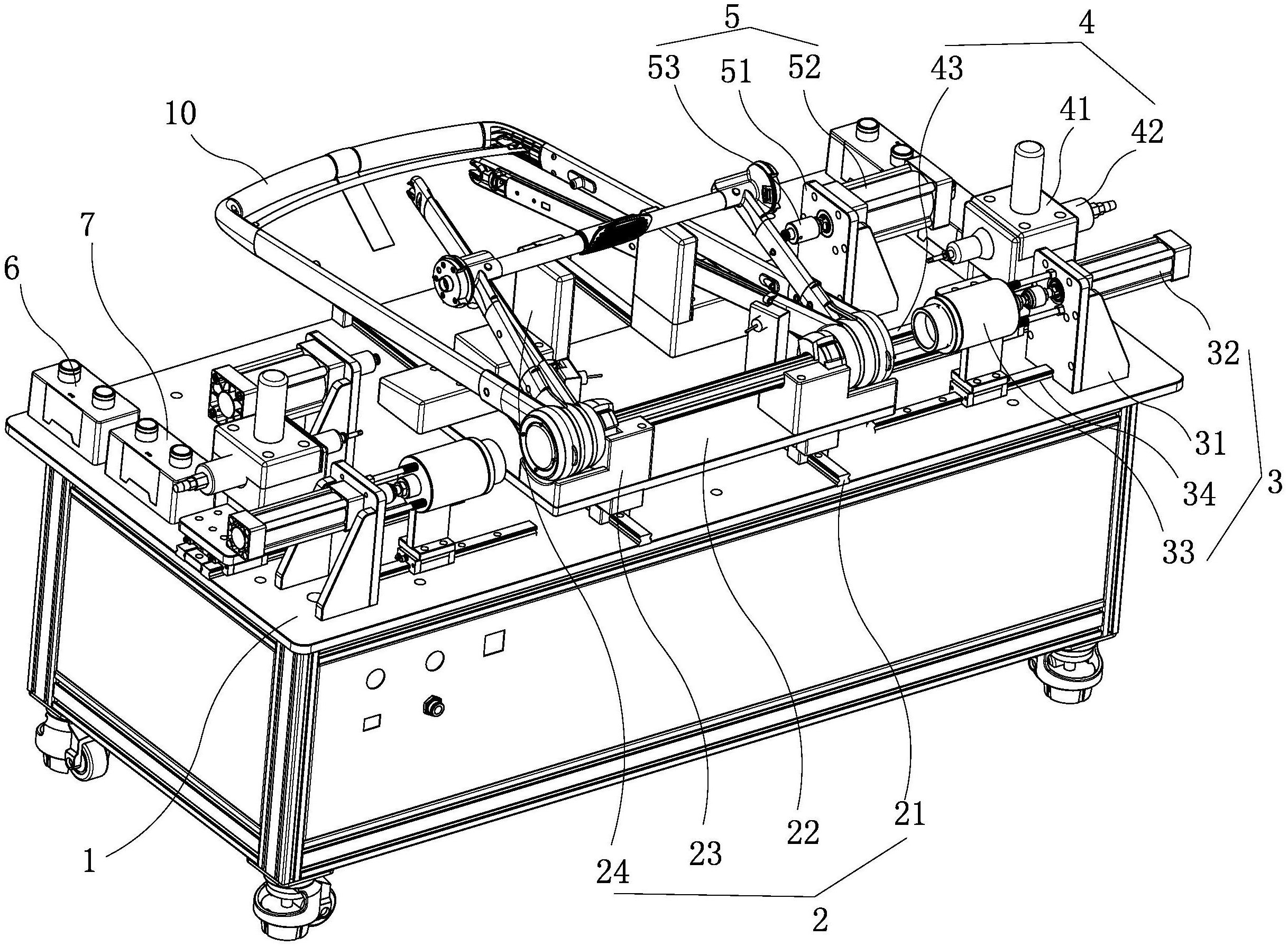
本实用新型公开了一种童车中央关节压合装置,包括机台、滑动平台、两组压关节机构、两组锁螺丝机构、两组压华司机构;所述的滑动平台安装在机台的中部,两组压关节机构、两组锁螺丝机构、两组压华司机构依工艺步骤依次设置在滑动平台的两侧。由于本实用新型的压关节机构、锁螺丝机构、压华司机构依工艺步骤依次设置在滑动平台的两侧,压关节机构、锁螺丝机构、压华司机构可依次完成主关节、螺丝、华司的装配,具有装配方便、快捷的优点。


