授权公布号:CN213611891U
一种绿色环保绘画颜料生产中使用的粉碎装置
有效
申请
2020-10-19
申请公布
1970-01-01
授权
2021-07-06
预估到期
2030-10-19
| 申请号 | CN202022326442.9 |
| 申请日 | 2020-10-19 |
| 授权公布号 | CN213611891U |
| 授权公告日 | 2021-07-06 |
| 分类号 | B02C21/00;B02C13/14;B02C18/14;B02C7/10;B02C19/18;F26B21/00;B08B5/02;B02C23/02 |
| 分类 | 破碎、磨粉或粉碎;谷物碾磨的预处理; |
| 申请人名称 | 南昌蓝珀笔业画材有限公司 |
| 申请人地址 | 江西省南昌市进贤县文港镇经济小区 |
专利法律状态
2021-07-06
授权
状态信息
授权
摘要
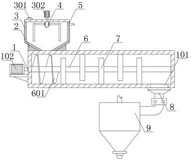
本实用新型公开了一种绿色环保绘画颜料生产中使用的粉碎装置,包括:粉碎外壳、加热块、进料斗和粉碎盘,所述粉碎外壳顶部一侧通过螺钉固定连接有进料斗,所述进料斗下半部外壁通过螺钉固定连接有加热块,所述进料斗顶部盖板中央底部通过轴承转动连接有门型搅拌轴,所述进料斗一侧内壁通过螺钉固定连接有风刀,本实用新型通过加热块以及风刀的干燥,通过门型搅拌轴、螺旋输送刀以及粉碎盘的多道粉碎,保证粉碎均匀的同时防止再次结块,同时通过风刀对门型搅拌轴的吹风,可以有效的去除门型搅拌轴上的残留物,防止门型搅拌轴上粘结原料。


