授权公布号:CN217555255U
一种徽墨生产用墨粉收集装置
有效
申请
2022-06-24
申请公布
1970-01-01
授权
2022-10-11
预估到期
2032-06-24
| 申请号 | CN202221601544.X |
| 申请日 | 2022-06-24 |
| 授权公布号 | CN217555255U |
| 授权公告日 | 2022-10-11 |
| 分类号 | B65G65/32;F23J3/02 |
| 分类 | 输送;包装;贮存;搬运薄的或细丝状材料; |
| 申请人名称 | 歙县老胡开文墨业有限公司 |
| 申请人地址 | 安徽省黄山市歙县徽城镇城东路19号 |
专利法律状态
2022-10-11
授权
状态信息
授权
摘要
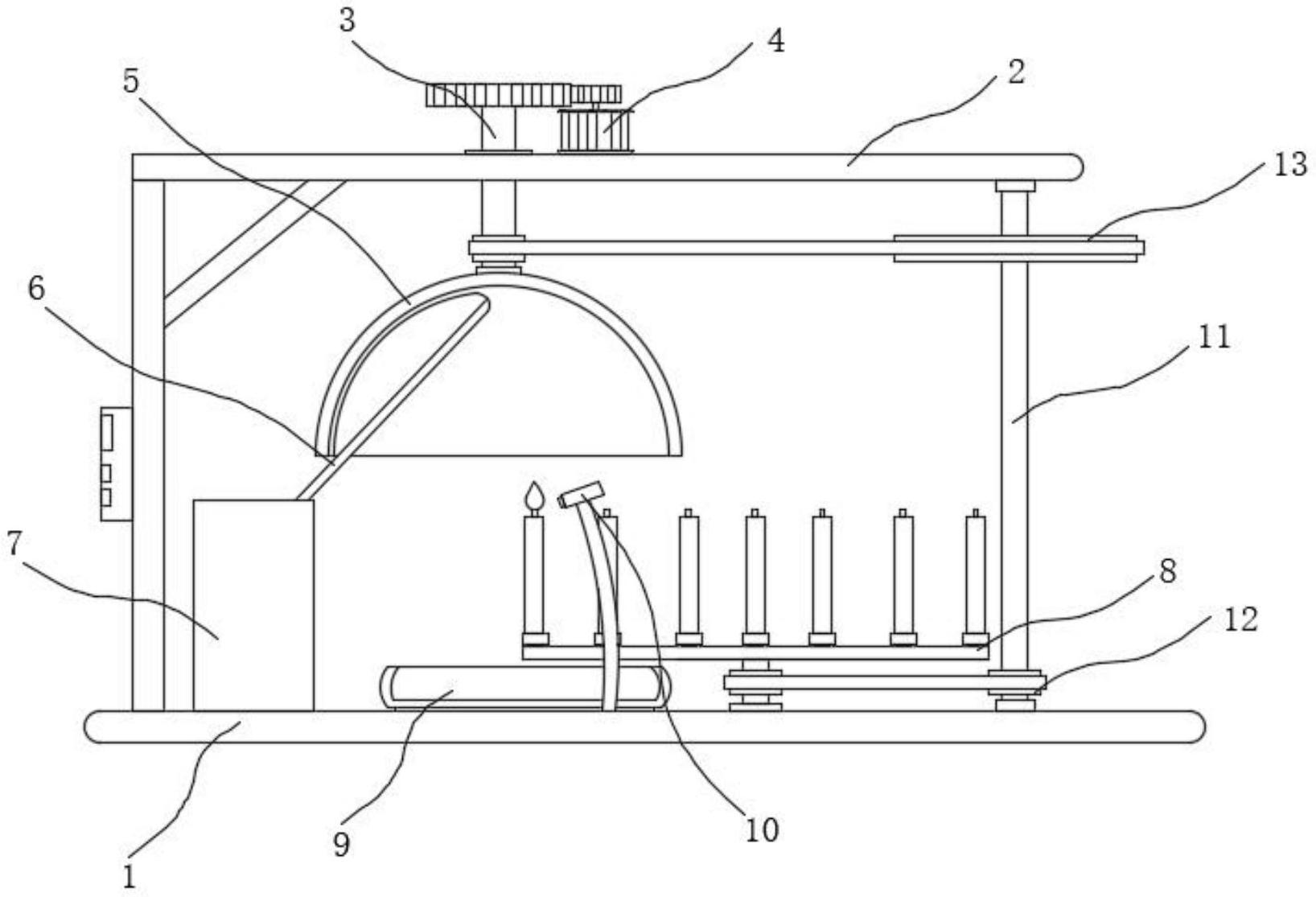
本实用新型提供一种徽墨生产用墨粉收集装置,涉及徽墨生产设备技术领域,该徽墨生产用墨粉收集装置,包括底座,底座顶部安装有支架,支架上贯穿有与其转动连接的主动杆,主动杆下方连接有集粉壳,集粉壳正下方设有燃烧管件;伺服电机,伺服电机安装于支架顶部,伺服电机顶端连接有小齿轮,主动杆的顶端固定有与小齿轮啮合的大齿轮;集粉筒,集粉筒顶部连接有与集粉壳相适配的刮粉件,该徽墨生产用墨粉收集装置,操作连续,可自动更换燃烧管件的位置并点燃进行烟粉的收集操作,减少了单位时间内人工干预的次数,延长持续集粉的时间,利于提高集粉效率,同时也降低了墨粉收集工作的强度。


