授权公布号:CN207922909U
一种用于宣纸加工的热量回收利用锅炉
有效
申请
2017-12-18
申请公布
1970-01-01
授权
2018-09-28
预估到期
2027-12-18
| 申请号 | CN201721770849.2 |
| 申请日 | 2017-12-18 |
| 授权公布号 | CN207922909U |
| 授权公告日 | 2018-09-28 |
| 分类号 | F28D7/02 |
| 分类 | 一般热交换; |
| 申请人名称 | 安徽常春纸业有限公司 |
| 申请人地址 | 安徽省宣城市泾县丁家桥镇 |
专利法律状态
2018-09-28
授权
状态信息
授权
摘要
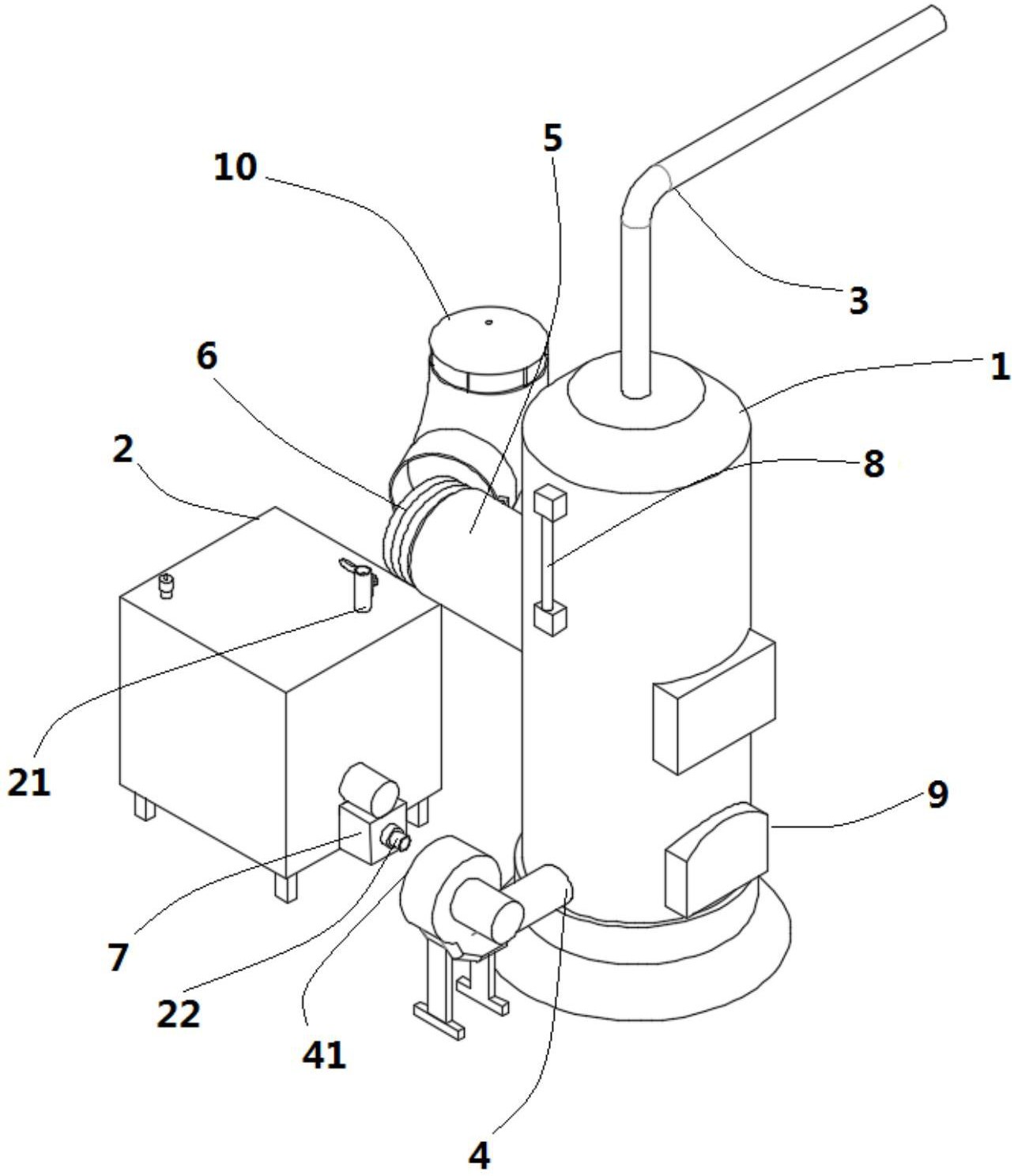
本实用新型公开了一种用于宣纸加工的热量回收利用锅炉,包括分体设置的本体和水箱,所述本体上端连接有出气管道,且本体底部设有通风口,所述通风口与位于本体周侧的筒体连通,所述筒体内腔间隙配合有换热管,所述换热管为螺旋管状,且换热管的出水口和进水口位于换热管的同一端部,本实用新型结构科学合理,使用安全方便,在本体周侧设有筒体,筒体内腔间隙配合有换热管,筒体通过合页铰接有烟囱便于使用人员安装拆卸换热管,同时造价相对较低适合广泛使用,设置保温水箱存储热水,便于使用人员后期使用,在水箱上端设有热进水口,且水箱底部设有冷出水口,冷出水口连接有循环泵,利用热水与冷水分布的特点使热量回收效果更好。


