授权公布号:CN205775618U
一种智能化宣纸榨干装置
有效
申请
2016-05-18
申请公布
1970-01-01
授权
2016-12-07
预估到期
2026-05-18
| 申请号 | CN201620450795.0 |
| 申请日 | 2016-05-18 |
| 授权公布号 | CN205775618U |
| 授权公告日 | 2016-12-07 |
| 分类号 | D21F13/02 |
| 分类 | 造纸;纤维素的生产; |
| 申请人名称 | 安徽常春纸业有限公司 |
| 申请人地址 | 安徽省宣城市泾县丁家桥镇 |
专利法律状态
2016-12-07
授权
状态信息
授权
摘要
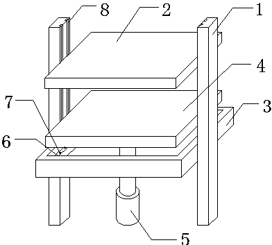
本实用新型公开了一种智能化宣纸榨干装置,包括对应设置的竖直支撑架,支撑架内侧设有轨道,支撑架之间固定设有底架,底架为方形空心框架,框架内侧设有凸台,凸台上均匀分布若干通孔,在底架内嵌设有可上下活动的底板,底板下端与气缸连接,在底板上方设有压板,压板两端通过升降装置安装在轨道内,压板下方设有靠接传感器,在底架下方设有废液收集槽。本实用新型相比现有技术具有以下优点:装置简单,由智能控制系统控制,可自动完成整个压榨过程,操作过程简单,压榨效果好,且不会影响宣纸质量,提高了工作效率。


