授权公布号:CN206217430U
自吸式毛笔
有效
申请
2016-06-29
申请公布
1970-01-01
授权
2017-06-06
预估到期
2026-06-29
| 申请号 | CN201620663742.7 |
| 申请日 | 2016-06-29 |
| 授权公布号 | CN206217430U |
| 授权公告日 | 2017-06-06 |
| 分类号 | B43K8/03;B43K8/06 |
| 分类 | 书写或绘图器具;办公用品; |
| 申请人名称 | 项城市汝阳刘笔业有限公司 |
| 申请人地址 | 河南省周口市项城市产业集聚区东方大道156号 |
专利法律状态
2017-06-06
授权
状态信息
授权
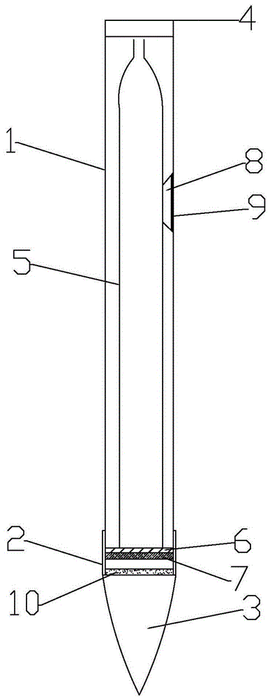
摘要
本实用新型涉及文化用品领域,尤其涉及一种自吸式毛笔,包括笔杆与笔头,所述的笔杆上端设置有与笔杆相匹配的笔盖,笔杆下端与笔头连接,且笔杆下端设置有挡板Ⅰ,所述挡板Ⅰ设置有扇形通墨孔;笔杆内设置有储墨腔,储墨腔上端有吸墨管,储墨腔下端连通于挡板Ⅰ,且与挡板Ⅰ粘结为一体;笔杆侧部设置有凹槽,凹槽内设置有用于按压储墨腔的内压板;所述的笔头上端设置有挡板Ⅱ,挡板Ⅱ设置有扇形通墨孔,笔头通过螺纹活动套接在笔杆上,且笔杆的挡板Ⅰ与笔头的挡板Ⅱ相接触,笔头下端设置有笔毫;本实用新型通过将毛笔装有储墨腔,而且毛笔里有挡板可以控制墨汁的流量,从而达到现在人们的需求,可以更好的使用毛笔。


