授权公布号:CN212230056U
一种智能wifi无线电子钢琴
有效
申请
2019-11-29
申请公布
1970-01-01
授权
2020-12-25
预估到期
2029-11-29
| 申请号 | CN201922176871.X |
| 申请日 | 2019-11-29 |
| 授权公布号 | CN212230056U |
| 授权公告日 | 2020-12-25 |
| 分类号 | G10H1/34;G10H1/32 |
| 分类 | 乐器;声学; |
| 申请人名称 | 青岛美嘉乐器有限公司 |
| 申请人地址 | 山东省青岛市黄岛区张家楼镇工业园松云路303号 |
专利法律状态
2020-12-25
授权
状态信息
授权
摘要
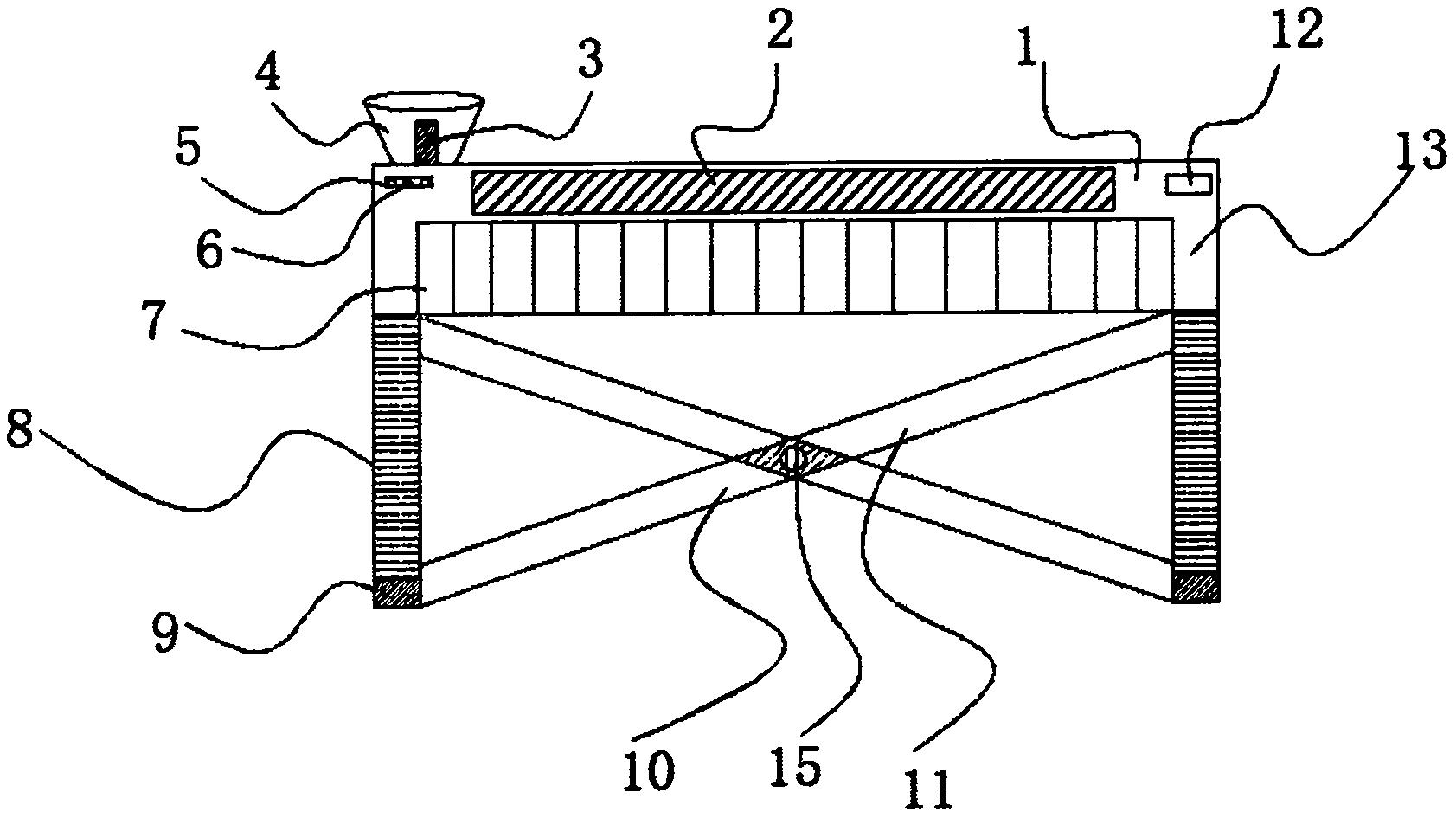
本实用新型公开了一种智能wifi无线电子钢琴,属于音乐器材技术领域,包括壳体,所述壳体内侧壁固定连接有蓄电池,所述蓄电池电流输出端连接显示屏电流输入端,所述壳体表面贯穿信号接收柱,所述信号接收柱外侧壁固定连接有信号传播漏斗,且信号传播漏斗内壁直径大于信号接收柱内壁直径,所述壳体表面镶嵌连接有按键,所述壳体底部固定连接有支撑柱,且支撑柱为两组,所述支撑柱之间焊接有固定架A和固定架B,壳体底部固定连接有支撑柱,且支撑柱为两组,支撑柱之间焊接有固定架A和固定架B,且固定架A和固定架B交接处开设有螺纹孔,通过螺纹孔可外接螺栓进行固定,提升了整体的稳定性。


