授权公布号:CN211168255U
一种电子钢琴原料储存装置
有效
申请
2019-11-29
申请公布
1970-01-01
授权
2020-08-04
预估到期
2029-11-29
| 申请号 | CN201922177697.0 |
| 申请日 | 2019-11-29 |
| 授权公布号 | CN211168255U |
| 授权公告日 | 2020-08-04 |
| 分类号 | B65D88/74;B65D88/68 |
| 分类 | 输送;包装;贮存;搬运薄的或细丝状材料; |
| 申请人名称 | 青岛美嘉乐器有限公司 |
| 申请人地址 | 山东省青岛市黄岛区张家楼镇工业园松云路303号 |
专利法律状态
2020-08-04
授权
状态信息
授权
摘要
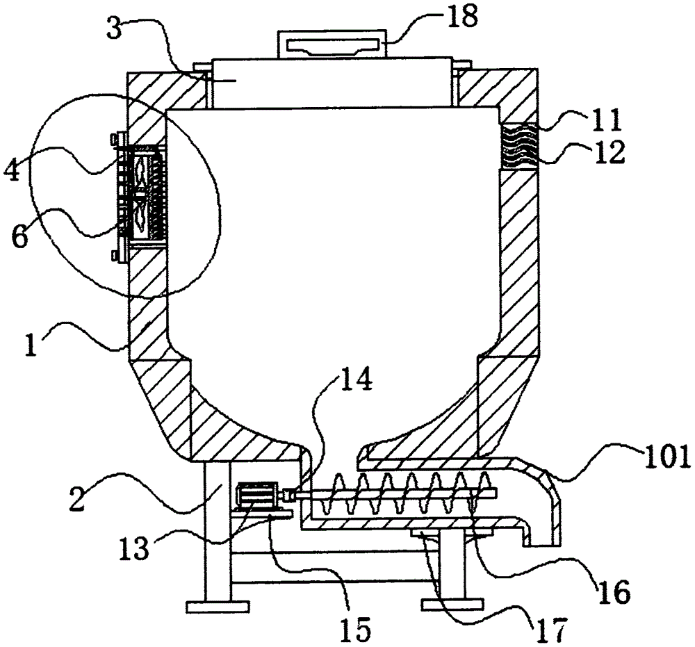
本实用新型公开了一种电子钢琴原料储存装置,属于电子钢琴原料储存装置技术领域,包括罐体、出料管、支撑架和罐盖,所述罐体的底部两端焊接有支撑架,且支撑架中部的罐体底端伸出有出料管,所述罐体的顶端可拆卸连接有罐盖,所述罐体的顶端一侧开设有嵌入槽,其通过设有电机、联轴器和搅拌叶,在出料管内安装搅拌叶,将搅拌叶的轴头贯穿出料管与联轴器输出端嵌合,然后联轴器输入端与电机输出端嵌合,放料时,电机通过联轴器带着搅拌叶转动,然后搅拌叶的叶片将出料管内的黑塑料向外搅拌推出,并且电机底部有支撑架的支撑板A进行支撑固定,而出料管底端有支撑架的支撑板B进行支撑固定,解决了现有电子钢琴黑键原料出料速度慢的问题。


