授权公布号:CN218899951U
一种舒适两片式纸尿裤
有效
申请
2022-08-19
申请公布
1970-01-01
授权
2023-04-25
预估到期
2032-08-19
| 申请号 | CN202222200708.4 |
| 申请日 | 2022-08-19 |
| 授权公布号 | CN218899951U |
| 授权公告日 | 2023-04-25 |
| 分类号 | A61F13/49;A61F13/56;A61F13/84;A61F13/511 |
| 分类 | 医学或兽医学;卫生学; |
| 申请人名称 | 广东昱升个人护理用品股份有限公司 |
| 申请人地址 | 广东省佛山市南海区西樵镇西樵科技工业园广兴路1号 |
专利法律状态
2023-04-25
授权
状态信息
授权
摘要
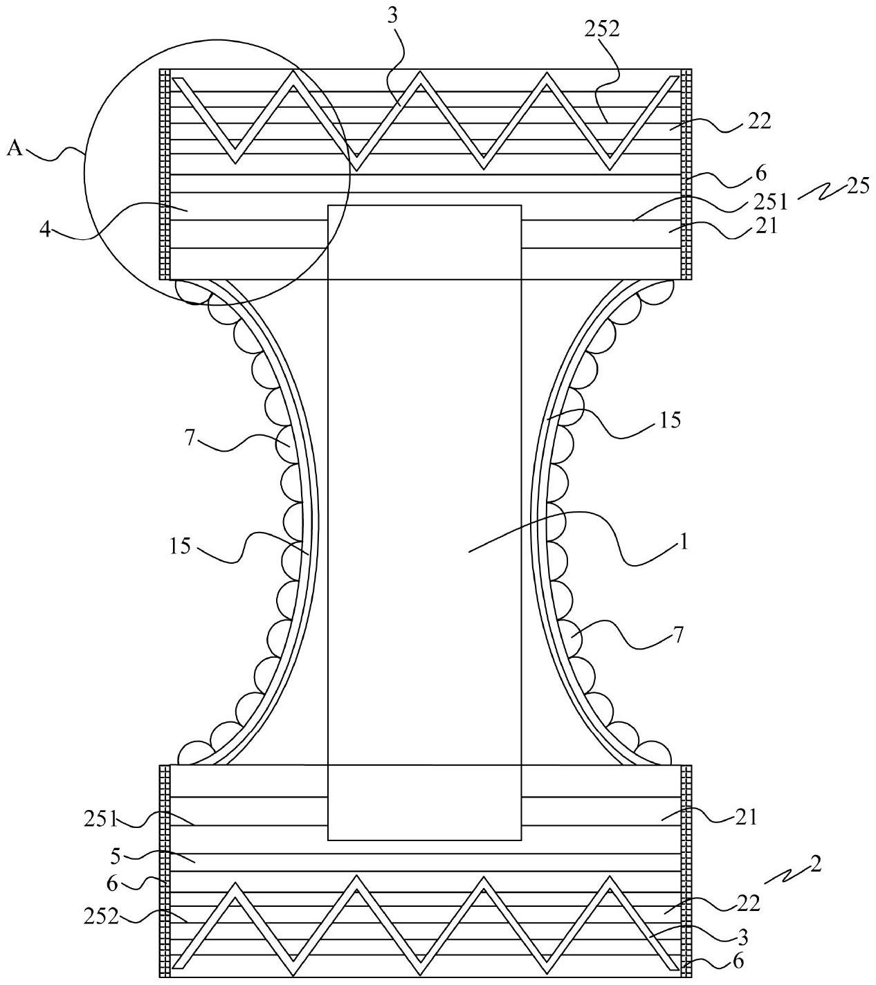
本实用新型涉及纸尿裤技术领域,更具体地,涉及一种舒适两片式纸尿裤,包括复合吸收主体和腰围主体,复合吸收主体和腰围主体为一体式结构,腰围主体包括连接部和腰围部,连接部的一端与复合吸收主体相连接,另一端与腰围部相连接;腰围部与人体皮肤接触的一侧设有弹性隔条;弹性隔条沿腰围部的周向设置。本实用新型中腰围部上设于的弹性隔条能够在腰围部与宝宝皮肤贴合时起到一定的缓冲、隔离作用,能够有效避免腰围橡筋完全直接勒在宝宝腹部上,极大程度的减轻纸尿裤对宝宝腹部的勒感和束缚感,进而提高宝宝穿着纸尿裤的舒适感。


