授权公布号:CN217311935U
一种积木件
有效
申请
2021-12-20
申请公布
1970-01-01
授权
2022-08-30
预估到期
2031-12-20
| 申请号 | CN202123233938.2 |
| 申请日 | 2021-12-20 |
| 授权公布号 | CN217311935U |
| 授权公告日 | 2022-08-30 |
| 分类号 | A63H33/04;A63H33/08;A63H33/22 |
| 分类 | 运动;游戏;娱乐活动; |
| 申请人名称 | 怡高企业(中山)有限公司 |
| 申请人地址 | 广东省中山市神湾镇俊美路1号 |
专利法律状态
2023-05-19
专利申请权、专利权的转移
状态信息
专利权的转移;IPC(主分类):A63H33/04;登记生效日:20230508;变更事项:专利权人;变更前:怡高企业(中山)有限公司;变更后:怡高科教(广东)有限公司;变更事项:地址;变更前:528400 广东省中山市神湾镇俊美路1号;变更后:528400 广东省中山市神湾镇俊美路1号
2022-08-30
授权
状态信息
授权
摘要
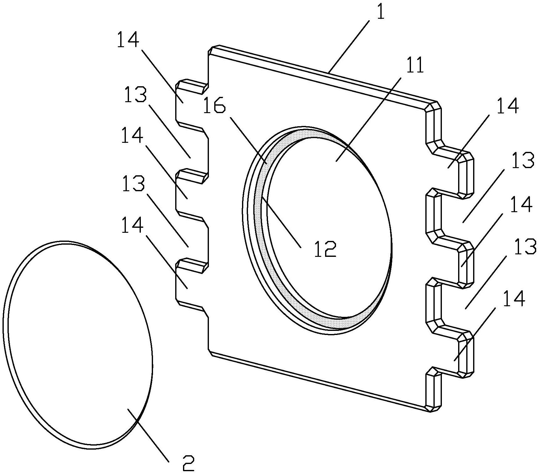
本实用新型提供一种积木件,包括采用塑胶材料制成的积木件主体,积木件主体的中心位置上设有前后相通的通孔,通孔中设有用于供光学镜片安装于其中的限位台阶,积木件主体上设置有用于与其他积木部件拼接的卡槽。本实用新型提供的一种积木件,具有结构简单、使用方便、成本低等特点,能够让儿童在满足不同光学功能的需求下随意拼搭出自己想要的形状,使得儿童在操作过程中更加容易理解光学镜片的相关学习内容,从而培养儿童的观察、学习能力。


