授权公布号:CN214214800U
自动装锉花轴入齿轮机
有效
申请
2020-11-12
申请公布
1970-01-01
授权
2021-09-17
预估到期
2030-11-12
| 申请号 | CN202022617376.0 |
| 申请日 | 2020-11-12 |
| 授权公布号 | CN214214800U |
| 授权公告日 | 2021-09-17 |
| 分类号 | B29C65/56;B29C65/78 |
| 分类 | 塑料的加工;一般处于塑性状态物质的加工; |
| 申请人名称 | 东莞美驰图实业有限公司 |
| 申请人地址 | 广东省东莞市凤岗镇竹尾田村 |
专利法律状态
2021-09-17
授权
状态信息
授权
摘要
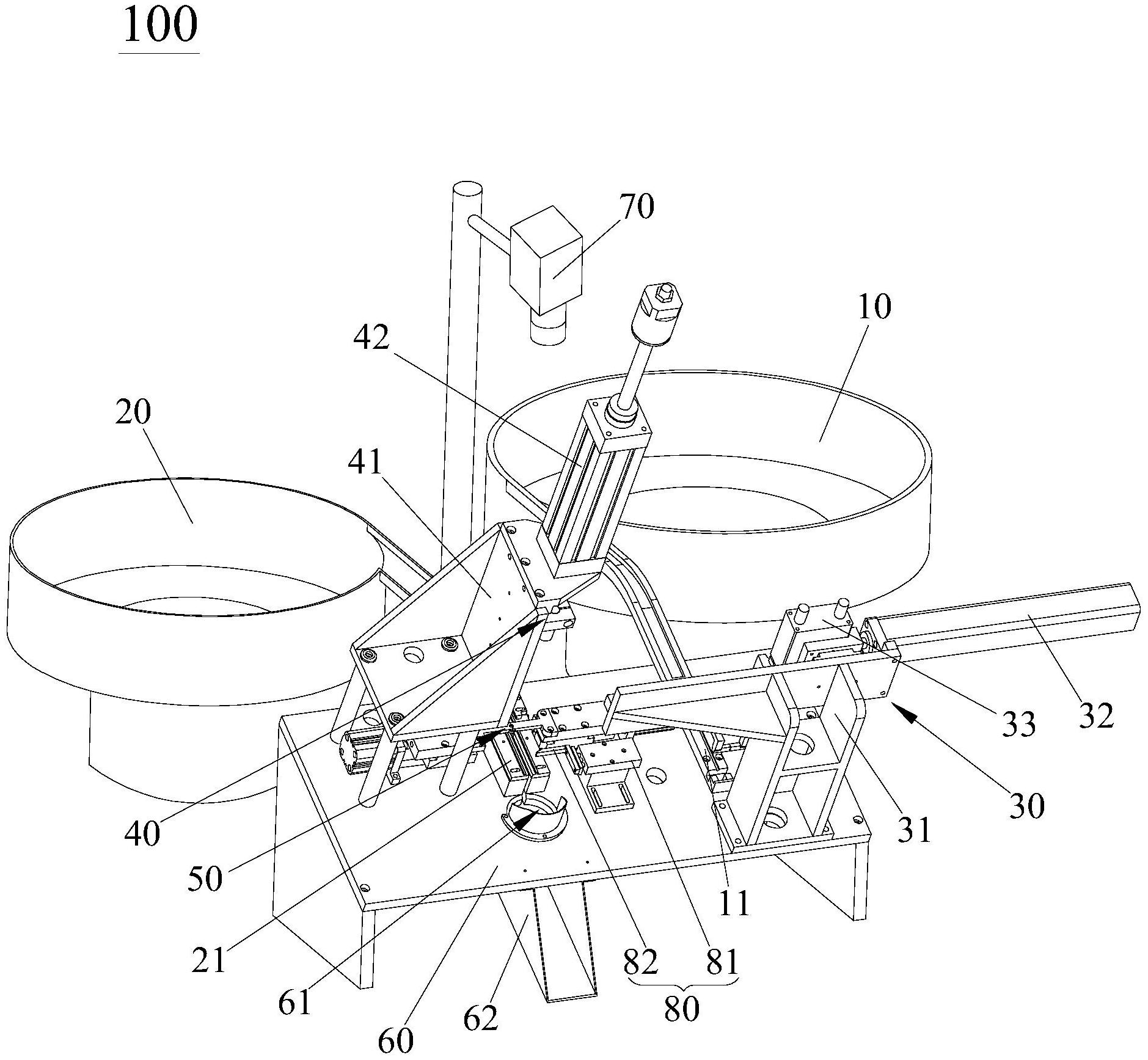
本实用新型公开了一种自动装锉花轴入齿轮机,其包括第一上料机构、第二上料机构、轴件搬运机构、打轴机构及齿轮定位机构,轴件搬运机构安装于第一上料机构的出料端的上方,第一上料机构用于逐一上料锉花轴,打轴机构设于第二上料机构的出料端的上方,第二上料机构用于逐一上料齿轮,轴件搬运机构用于搬运第一上料机构的出料端的锉花轴到第二上料机构的出料端的齿轮的上方,打轴机构将由轴件搬运机构所抓取的锉花轴打入齿轮中,齿轮定位机构安装于第二上料机构的出料端,齿轮定位机构在打轴机构将锉花轴打入齿轮的过程中定位住齿轮。本实用新型的自动装锉花轴入齿轮机能有效提高生产效率和保证产品质量。


