授权公布号:CN217424186U
一种鱼竿制造用的碳布尺寸测量设备
有效
申请
2022-06-01
申请公布
1970-01-01
授权
2022-09-13
预估到期
2032-06-01
| 申请号 | CN202221394704.8 |
| 申请日 | 2022-06-01 |
| 授权公布号 | CN217424186U |
| 授权公告日 | 2022-09-13 |
| 分类号 | G01B5/02;G01B11/02 |
| 分类 | 测量;测试; |
| 申请人名称 | 宁波开沃精工渔具有限公司 |
| 申请人地址 | 浙江省宁波市海曙区集士港镇祝家桥村 |
专利法律状态
2022-09-13
授权
状态信息
授权
摘要
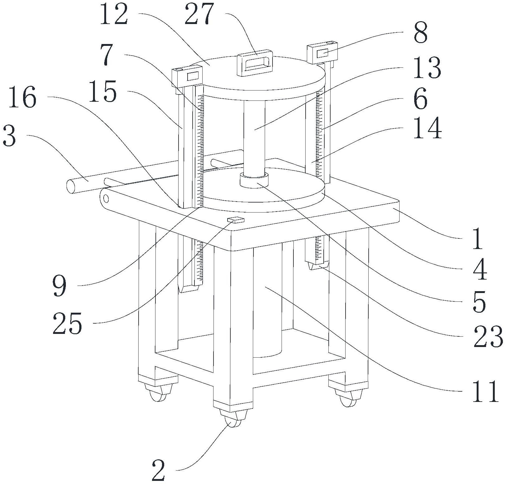
本实用新型所公开的一种鱼竿制造用的碳布尺寸测量设备,包括安装架,安装架底部周围转动连接有车轮,安装架的一侧设置有推杆,安装架顶面固定连接有放置盘,放置盘中部设置有供收卷的碳布放置的放置管,放置盘上活动连接的测量盘,测量盘的侧壁设置有至少一个测量尺,测量尺的一侧均匀开设有多个刻度,测量尺靠近测量盘的端部设置激光测距仪,安装架贯通有供测量尺滑移连接的滑孔,安装架贯通有与放置管的内部相通的通孔,安装架下方设置有升降驱动装置,升降驱动装置的驱动端固定连接有轴体,轴体滑移连接于通孔内。本实用新型结构简单,可快速精准测量出碳布的幅宽尺寸并将其单独运送,提高工作效率的优势。


