授权公布号:CN220220203U
双手挚活页夹
有效
申请
2023-07-03
申请公布
1970-01-01
授权
2023-12-22
预估到期
2033-07-03
| 申请号 | CN202321737605.X |
| 申请日 | 2023-07-03 |
| 授权公布号 | CN220220203U |
| 授权公告日 | 2023-12-22 |
| 分类号 | B42F13/26;B42F13/16 |
| 分类 | 装订;图册;文件夹;特种印刷品; |
| 申请人名称 | 义乌市文渊文具有限公司 |
| 申请人地址 | 浙江省金华市后宅工业区神舟路239号 |
专利法律状态
2023-12-22
授权
状态信息
授权
摘要
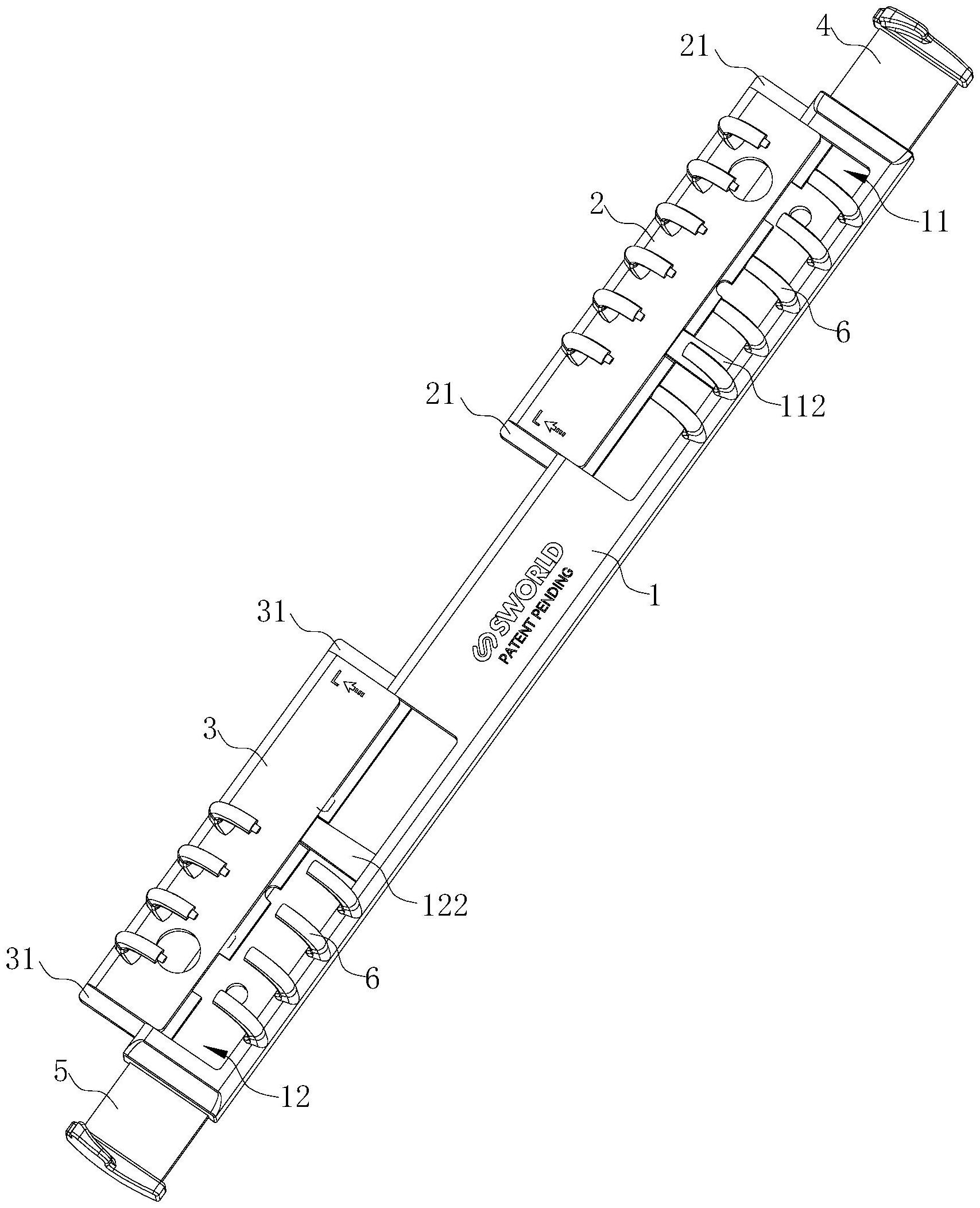
本实用新型公开一种双手挚活页夹,包括主体、第一夹件和第二夹件,第一夹件和第二夹件分别设置在主体的两端,第一夹件和第二夹件与主体之间具有滑动结构,使二者能独立地相对主体进行横向滑动,主体的两端还设有第一抽拉件和第二抽拉件,第一抽拉件和第二抽拉件能独立地相对主体进行竖向滑动,第一抽拉件和第二抽拉件的竖向滑动能分别带动第一夹件和第二夹件横向滑动,主体的两端设有固定的半扣环,第一夹件上设有能与主体一端的半扣环相扣合的第一半扣环,第二夹件上设有能与主体另一端的半扣环相扣合的第二半扣环。本实用新型提供一种能解决活页夹一侧不慎掉落,抽拉板活动使活页夹打开,纸张散落问题的双手挚活页夹,提高工作人员使用体验感。


