授权公布号:CN206334334U
一种过山车座椅吊臂装置
有效
申请
2016-08-30
申请公布
1970-01-01
授权
2017-07-18
预估到期
2026-08-30
| 申请号 | CN201620984305.5 |
| 申请日 | 2016-08-30 |
| 授权公布号 | CN206334334U |
| 授权公告日 | 2017-07-18 |
| 分类号 | A63G21/20 |
| 分类 | 运动;游戏;娱乐活动; |
| 申请人名称 | 河北中冶冶金设备制造有限公司 |
| 申请人地址 | 河北省邢台市沙河市建设路10号 |
专利法律状态
2017-07-18
授权
状态信息
授权
摘要
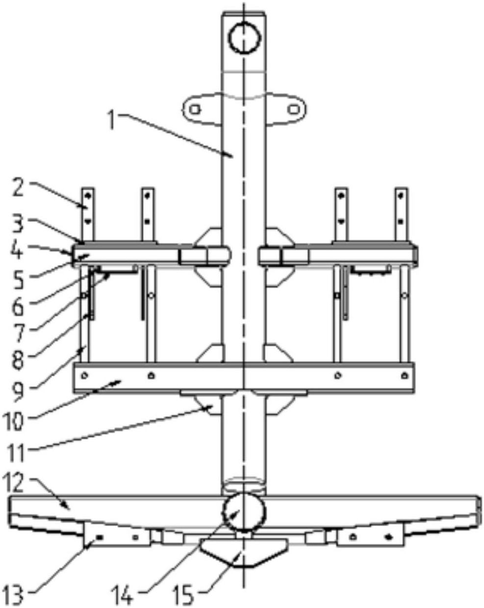
提供一种过山车座椅吊臂装置,包括压臂轴固定架、筋板、堵板、上靠架矩形管、限位板、下靠架矩形管、底架矩形管、耳板、角钢、钢板等;其特征是:还包括座椅吊臂;座椅吊臂由截面为圆形的钢管煨弯而成;座椅吊臂分别与上靠架矩形管、下靠架矩形管、筋板、底架矩形管、堵板、筋板、耳板组焊连接;筋板是座椅吊臂与上靠架矩形管、座椅吊臂与下靠架矩形管的连接件;上靠架矩形管除了和座椅吊臂和筋板焊接外还与堵板、限位板组焊相连;筋板是上靠架矩形管和下靠架矩形管之间的辅助连接件;座椅吊臂是由悬挂端、一段弧、二段弧和座椅端组成;其优点是:由于采用圆管为过山车座椅吊臂,加工简单、安全可靠、成本低、维护保养方便。


